Затвор дисковый поворотный предназначен для использования в качестве запорной или регулирующей арматуры для управления потоками в системах теплоснабжения, водоснабжения, в технологических процессах химической, нефтегазовой, целлюлозно-бумажной и других отраслях промышленности. Пневмоприводы с возвратными пружинами PA-SA-х используют один порт для подачи среды управления и перемещения в одном направлении, а возврат в исходное положение осуществляется с помощью пружин. Магнитный переключатель предназначен для преобразования конечных значений положения вала пневматических приводов или запорной арматуры в электрические сигналы. Пневмораспределитель служит для изменения направления, пуска, остановки потоков сжатого воздуха в пневматической системе в зависимости от внешнего управляющего воздействия. Управление осуществляется за счет переключения схемы соединения внутренних каналов распределителя с входными и выходными присоединительными отверстиями. Под внешними пневмолиниями понимаются воздухопроводы и каналы для прохождения воздуха (в том числе и отверстия для связи с атмосферой), соединяемые в определенных сочетаниях при различных положениях распределительного органа. Основными элементами конструкции золотникового пневмораспределителя являются корпус, в котором выполнены каналы и золотник, установленный в корпусе. На золотнике выполнены шейки, позволяющие соединять выбранные каналы между собой. При перемещении сердечника под воздействием управляющих сигналов, изменяющих создаваемую соленоидом напряженность магнитного поля, происходит переключение внутренних каналов распределителя, при помощи которых соединяются входные и выходные отверстия. Перемещаясь в корпусе, золотник изменяет схему соединения каналов пневмораспределителя. |
Технические параметры затворов дисковых поворотных DN.ru WBV1413E-2W-Fb-H Ду40-80 Ру16| Характеристика | Значение |
|---|
| Номинальное давление PN, бар | 16 | | Направление потока | двустороннее | | Температура рабочей среды, °C | от -20 до +120 | | Температура окружающей среды, °C | от -20 до +100 | | Климатическое исполнение | УХЛ4 по ГОСТ 15150-69 | | Герметичность в затворе | по классу А ГОСТ 9544-2015 | | Рабочая среда | холодная и горячая вода, воздух без примесей масла и жира, стационарное кондиционирование, слабоагрессивные среды, иные среды нейтральные к материалу | | Присоединение к трубопроводу | межфланцевое | | Средний срок службы, лет | 5 | | Средний ресурс, циклов закрытие/открытие | 20 000 (при неагрессивной среде и средних значениях давления и температуры) |
|  Изображение затворов дисковых поворотных DN.ru WBV1413E-2W-Fb-H Ду40-80 Ру16 |
Габаритные и установочные размеры затворов дисковых поворотных DN.ru WBV1413E-2W-Fb-H Ду40-80 Ру16| Размер | H, мм | H1, мм | H2, мм | L, мм | ØDм, мм | ØDк, мм | D2, мм |
|---|
| Ду40 (9х9, F05) | 146 | 74 | 25 | 43 | 73 | 75 | 50 | | Ду50 | 143 | 72 | 25 | 43 | 73 | 84.5 | | | Ду65 | 153 | 75 | 25 | 46 | 86 | 104.5 | | | Ду80 | 160 | 95 | 25 | 46 | 103 | 123.5 | |
|  Эскиз габаритов затворов дисковых поворотных DN.ru WBV1413E-2W-Fb-H Ду40-80 Ру16 |
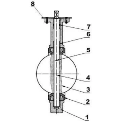
Деталировка затворов дисковых поворотных DN.ru WBV1413E-2W-Fb-H Ду40-80 Ру16| № | Наименование детали | Материал |
|---|
| 1 | Корпус | чугун GGG50 (аналог ВЧ50) | | 2 | Манжета | EPDM | | 3 | Диск | чугун GGG40 (аналог ВЧ40) | | 4 | Шток | нержавеющая сталь SS 416/2Cr13 (аналог ст.20Х13) | | 5 | Шпилька | нержавеющая сталь AISI 316L (аналог 03Х17Н14М3) | | 6 | Втулка | NBR | | 7 | Уплотнительное кольцо | NBR | | 8 | Пластина фиксирующая | углеродистая сталь |
|  Эскиз деталировки затворов дисковых поворотных DN.ru WBV1413E-2W-Fb-H Ду40-80 Ру16 |
Технические параметры пневмоприводов DN.ru PA-SA с возвратными пружинами| Характеристика | Значение |
|---|
| Бренд | DN.ru | | Тип пневмопривода | с возвратными пружинами | | Количество пружин | 10 шт | | Номинальное давление | 12 бар | | Рабочее давление | 2...8 бар | | Среда | сжатый воздух | | Температура рабочей среды | от -20 °C до +80 °C | | Угол поворота | 0 - 90° | | Регулировка угла поворота | ±5% | | Страна производитель | Китай | | Максимальный диаметр частиц рабочей среды | ≤30 мкм2 | | Стандарт верхнего соединения | NAMUR | | Стандарт соединения подачи воздуха | NAMUR |
| Видео пневмоприводов DN.ru PA-SA с возвратными пружинами |
Деталировка пневмопривода DN.ru PA-SA с возвратными пружинами| № | Наименование детали | Материал |
|---|
| 1 | Индикаторный винт | АБС-пластик | | 2 | Индикатор положения | АБС-пластик | | 3 | Пружинный зажим | нержавеющая сталь 304 | | 4 | Металлическая шайба | нержавеющая сталь 304 | | 5 | Прижимная шайба | инженерный пластик | | 6 | Корпус | экструдированный алюминиевый сплав с твердым анодированием | | 7 | Прижимная шайба | инженерный пластик | | 8 | Ограничитель | легированная сталь | | 9 | Уплотнительное кольцо вала верхнее | NBR | | 10 | Антифрикционное кольцо вала верхнее | инженерный пластик | | 11 | Вал | легированная сталь никелированная | | 12 | Антифрикционное кольцо вала нижнее | инженерный пластик | | 13 | Уплотнительное кольцо вала нижнее | NBR | | 14 | Заглушка | NBR | | 15 | Уплотнительное кольцо регулировочных винтов | NBR | | 16 | Шайба регулировочного винта | нержавеющая сталь 304 | | 17 | Стопорная гайка регулировочного винта | нержавеющая сталь 304 | | 18 | Винт регулировочный | нержавеющая сталь 304 | | 19 | Поршень | алюминиевый сплав, литой под давлением | | 20 | Направляющая накладка поршня | инженерный пластик | | 21 | Антифрикционное кольцо поршня | инженерный пластик | | 22 | Уплотнительное кольцо поршня | NBR | | 23 | Комплект пружин | пружинная сталь | | 24 | Уплотнительное кольцо крышки | NBR | | 25 | Торцевая крышка | литой алюминий с полиэфирным покрытием | | 26 | Винт крышки | нержавеющая сталь 304 | | 27 | Стопорный винт | нержавеющая сталь 304 | | 28 | Адаптер | углеродистая сталь |
|  Эскиз деталировки пневмоприводов DN.ru PA-SA с возвратными пружинами |
Технические параметры магнитных переключателей DN.ru ALS200D| Характеристика | Значение |
|---|
| Материал корпуса | пластик PP-GF30 | | Степень защиты корпуса | IP67 | | Совместимые устройства | - пневматические приводы; - любые исполнительные механизмы с поворотом вала на 90° | | Индикация угла поворота вала совмещаемого устройства, ° | 0 – 90 | | Тип контакта | NO | | Тип взаимодействия датчиков | магнитный | | Расстояние взаимодействия датчиков, мм | 1 ÷ 6 | | Частота переключения вкл/выкл, кГц | 0 ÷ 4,8 | | Визуальная индикация | два светодиода | | Номинальное напряжение, В | 5 ÷ 240 AC/DC | | Номинальный ток, mА | 0 ÷ 300 | | Номинальная мощность, Ватт | 10 | | Допустимая температура окружающей среды, °С | от -40 до +85 | | Кабельный вывод | 4 провода (2 провода/обрыв, 2 провода/закрытие) | | Средний ресурс, лет | 10 | | Вес, кг | 0,140 |
|  Изображение магнитных переключателей DN.ru ALS200D |
Технические параметры пневмораспределителей DN.RU 4M310-08 220V NAMUR| Характеристика | Значение |
|---|
| Конструкция | золотникового типа | | Максимальное давление, бар | 10 | | Рабочее давление (рекомендуемый диапазон для нормальной работы), бар | 1,5 ÷ 8 | | Вид пневмораспределителя | 5/2 пятилинейный, двухпозиционный | | Рабочая среда | очищенный воздух (тонкость очистки 40 мкм) | | Температура эксплуатации, °C | от 0 до +60 | | Частота срабатывания | 5 циклов в секунду | | Ручное дублирование | есть | | Степень защиты/класс изоляции | IP65/F | | Присоединение к пневмоприводу | стыковочная поверхность по стандарту NAMUR (VDI/VDE3845) | | Материал корпуса | анодированный алюминий | | Эффективная площадь сечения, мм2 | 25 (Cv = 1,4) | | Размеры выхлопных портов (сброс в атмосферу) | 2 - PT1/4” | | Размер порта подвода воздуха (в пневмораспределитель) | G1/4” | | Размер портов отвода воздуха (в пневмопривод) | 2 х Ø19.2 мм | | Время отклика, сек | 0,05 | | Напряжение питания, В | 220AC | | Мощность катушки | 5,5 ВА | | Вес, кг | 0,35 | | Средний ресурс, циклов | 10 000 000 |
|  Изображение пневмораспределителей DN.RU 4M310-08 220V NAMUR |
Деталировка пневмораспределителей DN.RU 4M310-08 220V NAMUR| № | Наименование детали | Материал |
|---|
| 1 | Разъем | инженерный пластик | | 2 | Гайка | POM + углеродистая сталь | | 3 | Катушка | медь | | 4 | Управляющие элементы | - | | 5 | Пластина | углеродистая сталь | | 6 | Поршень | POM | | 7 | Седло управляющего клапана | инженерный пластик | | 8 | Корпус клапана | алюминиевый сплав | | 9 | Золотник | алюминиевый сплав | | 10 | Уплотнительное кольцо O-образной формы | HNBR | | 11 | Задняя крышка | инженерный пластик | | 12 | Фильтр | синтетический материал | | 13 | Поршень | POM | | 14 | Пружина | нержавеющая сталь | | 15 | Ручной дублер | инженерный пластик | | 16 | Заднее седло | алюминиевый сплав | | 17 | Седло пружины | алюминиевый сплав | | 18 | Буксирная скоба типа C | 65Mn (аналог 65Г) |
|  Эскиз деталировки пневмораспределителей DN.RU 4M310-08 220V NAMUR |