Кран шаровой DN.ru BV3232P(2pc)-FP-F-ISO-H Ду150 Ру16, 27х27, корпус - сталь 316, уплотнение - PTFE, полнопроходной, фланцевый, с электроприводом DN.ru QT-N-040EM-O1-24VDC-У1

Артикул: D160-77595   

О товаре

Артикул:
D160-77595
Бренд:
DN.ru
Страна производитель:
Россия
Доступность товара:
Товар в наличии на складе либо у поставщика
Серия бренда:
BV3232P
Присоединение:
фланцевое
Класс материала корпуса:
нержавеющая сталь
не указано
бронза
латунь
латунь никелированная
Низколегированная сталь
НПВХ
сталь
углеродистая сталь
чугун
Диаметр условный Ду(Dn), мм:
Диаметр в дюймах:
не указано
1″
1 1/2″
1 1/4″
1/2″
1/4″
1/8″
10″
12″
14″
16″
2″
2 1/2″
20″
24″
28″
3″
3 1/2″
3/4″
3/8″
32″
4″
5″
6″
7″
8″
½″
Давление условное Ру(Pn), бар:
Строительная длина, мм:
350
Проход шара:
полнопроходной
Таблица фигур:
не указано
10нж45фт
10нж45фт-01
10нж46фт
10нж46фт-01
10нж47фт-01
11б27п(т)1
11Б27п1
11Б27п11
11Б27п13
11Б27п17
11Б27п7
11б27фт1М
11С10ФТ
11с41п
11с42п
11с42фт (11с42п)
11с667п
11с67п
11с67пМ
11с69п
11с70п
11с967п
Рабочая среда крана:
вода, нейтральные среды, нефтепродукты, пар
Тип управления:
С электроприводом
под редуктор/привод
ручной
Ручной (рукоятка, редуктор)
С пневмоприводом
с редуктором
Устройство крана:
двухходовой
Регулирующий
сливной
трехходовой
четырехходовой
Тип присоединения:
Фланцевый
Компрессионное
межфланцевый
муфтовый (резьбовой)
муфтовый (резьбовой) / американка
муфтовый (резьбовой) / гайка
муфтовый (резьбовой) / обжимной
муфтовый (резьбовой) / под приварку
муфтовый (резьбовой) / пресс
муфтовый (резьбовой) / цапка
муфтовый (резьбовой) / штуцер
обжим (цанговый)
под приварку
Под приварку / цапка
Под приварку / штуцер
пресс
Фланцевый / муфта
фланцевый / под приварку
Фланцевый / цапка
Корпус:
Нержавеющая сталь AISI/SS 316/08Х17Н14М2
Уплотнение шара:
PTFE / Фторопласт / Тефлон
не указано
EPDM
NBR
PPL
PTFE
Резина
Температура:
200 ℃
Применение:
водоснабжение, пароснабжение, теплоснабжение
Класс герметичности:
A
Все характеристики
на 2026-12-31
217 724,86
Гарантия 12 месяцев
Возможна отсрочка до 90 дней
В избранное
Бесплатная доставка до ТК
Сертифицированный товар

Характеристики

Кран шаровой применяется в качестве запорной арматуры в системах теплоснабжения, водоснабжения, в паровых, топливных и пневмосистемах со сжатым воздухом и нейтральными газами. Установка кранов данной серии возможна в системы транспортирующие жидкие и газообразные среды (вода, нефть, масла, пар, воздух, спирты, гликоль и др.), неагрессивные к материалам крана.
Электроприводы четвертьоборотные предназначены для дистанционного и местного управления запорной трубопроводной арматурой, имеющей четвертьоборотный запорный орган. Применяются в различных отраслях народного хозяйства: в газовой, нефтяной, металлургической, пищевой промышленности, в жилищно-коммунальном хозяйстве и т.д.

Технические характеристики крана шарового DN.ru BV3232P(2pc)-FP-F-ISO-H Ду150 Ру16:

  • Диаметр номинальный - 150 мм
  • Давление номинальное - 16 бар
  • Класс герметичности - "A"
  • Тип уплотнения - PTFE / Фторопласт / Тефлон
  • Серия - BV3232P
  • Крутящий момент - 340 Нм
  • Тип ISO-фланца - F10, F12
  • Размер вала (квадрат) - 27х27 мм
  • Присоединение - фланцевое
  • Тип устройства крана - двухходовой
  • Проход шара крана - полнопроходной
  • Конструкция крана - Разборный 2-х составной
  • Тип управления - Электропривод 24В
  • Температура рабочей среды - от -20 до +200 °C
  • Среда - вода, пар, нефтепродукты, нейтральные среды
  • Область применения - водоснабжение, теплоснабжение, пароснабжение
  • Страна производитель - Россия
  • Срок службы - 10 лет
  • Вес крана - 41 кг
Кран шаровой DN.ru BV3232P(2pc)-FP-F-ISO-H Ду150 Ру16, 27х27, корпус - сталь 316, уплотнение - PTFE, полнопроходной, фланцевый, с электроприводом DN.ru QT-N-040EM-O1-24VDC-У1

Кран шаровой DN.ru BV3232P(2pc)-FP-F-ISO-H Ду150 Ру16, 27х27, корпус - сталь 316, уплотнение - PTFE, полнопроходной, фланцевый, с электроприводом DN.ru QT-N-040EM-O1-24VDC-У1

Габаритные и установочные размеры крана шарового DN.ru BV3232P(2pc)-FP-F-ISO-H Ду150 Ру16 с электроприводом DN.ru QT-N-040EM-O1-24VDC-У1:

  • L - 350 мм
  • D - 285 мм
  • DN - 146 мм
  • L1 - 269 мм
  • F - 155 мм
Кран шаровой DN.ru BV3232P(2pc)-FP-F-ISO-H Ду150 Ру16, 27х27, корпус - сталь 316, уплотнение - PTFE, полнопроходной, фланцевый, с электроприводом DN.ru QT-N-040EM-O1-24VDC-У1

Эскиз габаритов крана шарового DN.ru BV3232P(2pc)-FP-F-ISO-H Ду150 Ру16 с электроприводом DN.ru QT-N-040EM-O1-24VDC-У1

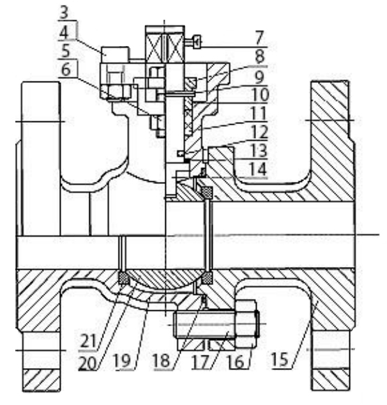
Материалы деталей крана шарового DN.ru BV3232P(2pc)-FP-F-ISO-H Ду150 Ру16:

№ п/п Наименование деталей Материал
3 Шестигранные винты нержавеющая сталь AISI 304 (аналог 08Х18Н10)
4 Гайка нержавеющая сталь AISI 304 (аналог 08Х18Н10)
5 Болт нержавеющая сталь AISI 304 (аналог 08Х18Н10)
6 Гайка нержавеющая сталь AISI 304 (аналог 08Х18Н10)
7 Шестигранные винты нержавеющая сталь AISI 304 (аналог 08Х18Н10)
8 Сальник нержавеющая сталь AISI 304 (аналог 08Х18Н10)
9 Пружинная шайба нержавеющая сталь AISI 304 (аналог 08Х18Н10)
10 Сальниковая втулка нержавеющая сталь AISI 304 (аналог 08Х18Н10)
11 Уплотнение PTFE
12 Уплотнительное кольцо FKM
13 Упорная прокладка PTFE
14 Шток нержавеющая сталь AISI 316 (аналог 08Х17Н14М2)
15 Фланцевый элемент нержавеющая сталь CF8М/SS 316 (аналог 08Х17Н14М2)
16 Гайка нержавеющая сталь AISI 304 (аналог 08Х18Н10)
17 Болт нержавеющая сталь AISI 304 (аналог 08Х18Н10)
18 Прокладка PTFE
19 Корпус нержавеющая сталь CF8М/SS 316 (аналог 08Х17Н14М2)
20 Шар нержавеющая сталь AISI 316 (аналог 08Х17Н14М2)
21 Седло RPTFE
Кран шаровой DN.ru BV3232P(2pc)-FP-F-ISO-H Ду150 Ру16, 27х27, корпус - сталь 316, уплотнение - PTFE, полнопроходной, фланцевый, с электроприводом DN.ru QT-N-040EM-O1-24VDC-У1

Эскиз материалов крана шарового DN.ru BV3232P(2pc)-FP-F-ISO-H Ду150 Ру16

Технические характеристики электропривода DN.ru QT-N-040EM-O1-24VDC-У1:

  • Модель привода - QT-N-040EM-O1-24VDC-У1
  • Наличие ручного дублера - Шестигранник
  • Тип электропривода - Четвертьоборотный
  • Напряжение питания - 24В
  • Степень защиты корпуса - IP67
  • Взрывозащита - нет
  • Ток электродвигателя - 9 А
  • Крутящий момент - 400 Нм
  • Тип ISO-фланца привода - F10, F12
  • Квадрат штока - 27х27 мм
  • Вес привода - 10 кг
  • Страна производитель привода - Китай
Электропривод DN.ru QT-N-040EM-O1-24VDC-У1

Электропривод DN.ru QT-N-040EM-O1-24VDC-У1

Конструкция электропривода DN.ru QT-N-040EM-O1-24VDC-У1:

Наименование
1 Выходной вал
2 Кабельный замок
3 Механический ограничитель
4 Ручной гаечный ключ
5 Корпус
6 Крышка
7 Смотровое окно
8 Защита от пыли
Электропривод DN.ru QT-N-040EM-O1-24VDC-У1

Эскиз электропривода DN.ru QT-N-040EM-O1-24VDC-У1

Аналоги

График сравнения цен аналогичных кранов для теплоснабжения*. При клике на точку графика получите развернутую информацию.

*Краны подобраны по следующим параметрам: Ду150, Ру16, применение - водоснабжение, теплоснабжение, пароснабжение, тип присоединения - Фланцевый, проход шара крана - полнопроходной, класс материала корпуса - нержавеющая сталь, управление - Электропривод 24В, водоразборный - нет, наличие колонки управления - нет, тип устройства крана - двухходовой, конструкция - Разборный 2-х составной

221,000
176,800
132,600
88,400
44,200
0
DN.ru
BV3232P(2pc)-FP-F-ISO-H QT-N-EM-O1-24VDC-У1
DN.ru
BV3232P(2pc)-FP-F-ISO-H QT-N-EM-O1-24VDC-У1

Доставка

Условия доставки:

Мы осуществляем доставку по Москве, Московской области, и другим регионам Российской Федерации.

Доставка по г.Москва (в пределах МКАД) и МО осуществляется собственным транспортом или курьером.

Доставка в другие регионы осуществляется при помощи транспортных компаний (СДЭК, Деловые линии, Байкал Сервис).

Самовывоз. Вы сможете самостоятельно забрать заказ оформив самовывоз с нашего склада или пункта выдачи заказов.

Быстрый заказ

Вы можете отправить нам запрос на необходимые позиции и наш менеджер свяжется с вами в ближайшее время для формирования заказа

Нажмите, чтобы загрузить файлы или перетащите сюда
Максимальный размер файла - 10 Мб. Типы файлов: jpg, jpeg, png, xls, xlsx, doc, docx, pdf.