Краны шаровые DN.ru BV3232P(2pc)-FP-3WL-F-ISO-H Ду20-80 Ру16 HYMT, трехходовые L-тип, полнопроходные, фланцевые, корпус - нержавеющая сталь SS316, с пневмоприводом PA-DA, пневмораспределителем 4M310-08 24В NAMUR, БКВ APL-510N EX и БПВ AFC2000

NY2026 - all categories (2)
NY2026 - all categories (2)-mobile
Aquaflame 2026 (2)
Aquaflame 2026 (2)-mobile
СТМ многоступенчатые насосы 2
СТМ многоступенчатые насосы 2-mobile
КИПиА Акваконтроль 2
КИПиА Акваконтроль 2-mobile

Кран шаровой применяется в качестве запорной арматуры, а также для смешивания и разделения потоков рабочей среды в системах теплоснабжения, водоснабжения, в топливных и пневмосистемах со сжатым воздухом и нейтральными газами. Установка кранов данной серии возможна в системы, транспортирующие жидкие и газообразные среды, неагрессивные к материалам крана. С помощью рукоятки, установленной на корпусе, осуществляется поворот шара вокруг оси. Краны типа L относятся к коммутирующему типу устройств. В кранах, имеющих L-образный профиль проточной части запорного шара, рабочая среда поступает через центральный патрубок. В зависимости от положения рукоятки, т.е. самого шара, рабочий поток будет остановлен или направлен в одну из двух противоположных сторон.

Пневмоприводы двойного действия DA используют два порта для подачи среды управления и создания движения в обоих направлениях, как для открытия, так и для закрытия арматуры. Один порт используется для перемещения поршня в одном направлении, а другой — для перемещения в противоположном направлении.

Пневмораспределитель служит для изменения направления, пуска, остановки потоков сжатого воздуха в пневматической системе в зависимости от внешнего управляющего воздействия.

Блок концевых выключателей – это электротехническое устройство, предназначенное для размыкания и замыкания рабочей цепи и для визуализации положений запорного органа трубопроводной арматуры.

Блок подготовки воздуха предназначен для очистки сжатого воздуха от капельной влаги и твердых частиц, удаления конденсата, автоматического поддержания величины давления на заданном уровне, подвода смазочного материала из резервуара в поток сжатого воздуха к элементам пневмосистемы.

Технические характеристики кранов шаровых DN.ru BV3232P(2pc)-FP-3WL-F-ISO-H Ду20-80 Ру16 HYMT с пневмоприводом PA-DA, пневмораспределителем 4M310-08 24В NAMUR, БКВ APL-510N EX и БПВ AFC2000:

Наименование Значение
Номинальное давление PN, бар 16
Температура рабочей среды, ⁰C от -20 до +200
Температура окружающей среды, ⁰C от -20 до +100
Рабочая среда вода, масло, воздух и другие слабо коррозийные среды, нейтральные к материалам крана
Присоединение к трубопроводу фланцевое
Тип проходного сечения полнопроходной
Класс герметичности шарового затвора «А» по ГОСТ 9544-2015
Материал корпуса нержавеющая сталь AISI 316 (аналог 08Х17Н14М2)
Материал шара нержавеющая сталь AISI 316 (аналог 08Х17Н14М2)
Материал уплотнения PTFE
Сферы применения системы отопления и водоснабжения, промышленные трубопроводы
Средний срок службы, лет 10
Краны шаровые DN.ru BV3232P(2pc)-FP-3WL-F-ISO-H Ду20-80 Ру16 HYMT, трехходовые L-тип, полнопроходные, фланцевые, корпус - нержавеющая сталь SS316, с пневмоприводом PA-DA, пневмораспределителем 4M310-08 24В NAMUR, БКВ APL-510N EX и БПВ AFC2000

Краны шаровые DN.ru BV3232P(2pc)-FP-3WL-F-ISO-H Ду20-80 Ру16 HYMT, трехходовые L-тип, полнопроходные, фланцевые, корпус - нержавеющая сталь SS316, с пневмоприводом PA-DA, пневмораспределителем 4M310-08 24В NAMUR, БКВ APL-510N EX и БПВ AFC2000

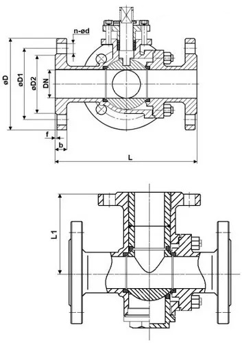
Габариты и размеры кранов шаровых DN.ru BV3232P(2pc)-FP-3WL-F-ISO-H Ду20-80 Ру16 HYMT с пневмоприводом PA-DA, пневмораспределителем 4M310-08 24В NAMUR, БКВ APL-510N EX и БПВ AFC2000:

Модель L, мм L1, мм ØD2, мм ØD1, мм ØD, мм b, мм f, мм n-Ød, шт-мм
Ду20 160 80 58 75 105 14 2 4-ø14
Ду50 240 120 102 125 165 16 2 4-ø18
Ду80 280 140 138 160 200 20 2 8-ø18
Краны шаровые DN.ru BV3232P(2pc)-FP-3WL-F-ISO-H Ду20-80 Ру16 HYMT, трехходовые L-тип, полнопроходные, фланцевые, корпус - нержавеющая сталь SS316, с пневмоприводом PA-DA, пневмораспределителем 4M310-08 24В NAMUR, БКВ APL-510N EX и БПВ AFC2000

Эскиз габаритов и размеров кранов шаровых DN.ru BV3232P(2pc)-FP-3WL-F-ISO-H Ду20-80 Ру16 HYMT с пневмоприводом PA-DA, пневмораспределителем 4M310-08 24В NAMUR, БКВ APL-510N EX и БПВ AFC2000

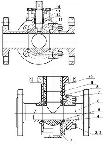
Таблица деталей и материалов кранов шаровых DN.ru BV3232P(2pc)-FP-3WL-F-ISO-H Ду20-80 Ру16 HYMT с пневмоприводом PA-DA, пневмораспределителем 4M310-08 24В NAMUR, БКВ APL-510N EX и БПВ AFC2000:

№ п/п Наименование детали Материал
1 Заглушка нержавеющая сталь AISI 316 (аналог 08Х17Н14М2)
2 Гайка сталь A194Gr.8M (аналог 10Х17Н13М2Т)
3 Болт сталь A193 Gr.B8M Cl2 (аналог 12Х18Н10Т)
4 Седло PTFE
5 Шар нержавеющая сталь AISI 316 (аналог 08Х17Н14М2)
6 Крышка нержавеющая сталь AISI 316 (аналог 08Х17Н14М2)
7 Корпус нержавеющая сталь AISI 316 (аналог 08Х17Н14М2)
8 Опорное кольцо нержавеющая сталь AISI 316 (аналог 08Х17Н14М2)
9 Уплотнительное кольцо VITON
10 Резьбовое седло нержавеющая сталь AISI 316 (аналог 08Х17Н14М2)
11 Прокладка PTFE
12 Шток нержавеющая сталь AISI 316 (аналог 08Х17Н14М2)
13 Уплотнение штока PTFE
14 Сальник нержавеющая сталь AISI 316 (аналог 08Х17Н14М2)
Краны шаровые DN.ru BV3232P(2pc)-FP-3WL-F-ISO-H Ду20-80 Ру16 HYMT, трехходовые L-тип, полнопроходные, фланцевые, корпус - нержавеющая сталь SS316, с пневмоприводом PA-DA, пневмораспределителем 4M310-08 24В NAMUR, БКВ APL-510N EX и БПВ AFC2000

Эскиз деталей и материалов кранов шаровых DN.ru BV3232P(2pc)-FP-3WL-F-ISO-H Ду20-80 Ру16 HYMT с пневмоприводом PA-DA, пневмораспределителем 4M310-08 24В NAMUR, БКВ APL-510N EX и БПВ AFC2000

Технические параметры пневмопривода PA-DA:

Наименование Значение
Тип пневмопривода двойного действия
Номинальное давление PN, бар 12
Рабочее давление, бар 2…8
Рабочая среда фильтрованный сжатый воздух
Максимальный диаметр частиц рабочей среды, мкм2 ≤30
Температура окружающей среды, ⁰C от –20 до +80
Угол поворота, ° 0 - 90
Регулировка угла поворота, % ±5
Индикатор положения открыто/закрыто
Стандарт верхнего соединения NAMUR
Стандарт соединения подачи воздуха NAMUR
Средний ресурс, циклов закрытие/открытие 70 000 (при неагрессивной среде и средних значениях давления и температуры)
Краны шаровые DN.ru BV3232P(2pc)-FP-3WL-F-ISO-H Ду20-80 Ру16 HYMT, трехходовые L-тип, полнопроходные, фланцевые, корпус - нержавеющая сталь SS316, с пневмоприводом PA-DA, пневмораспределителем 4M310-08 24В NAMUR, БКВ APL-510N EX и БПВ AFC2000

Пневмопривод PA-DA

Габариты и размеры пневмопривода PA-DA:

Модель DA-052 DA-065 DA-105
A, мм 30 36 57,5
B, мм 41.5 47 64
C, мм 65,5 81 122.5
D, мм 72 88 133
E, мм 92 108 153
F, мм 65 72 109.5
G, мм 30 30 30
H, мм 80 80 80
I, мм 36 50 70
J, мм 50 70 102
M, мм 11х11 14х14 22х22
N, мм 14 18 26
Z, мм 147 168 268
d, мм 40 40 40
K M5x8 M6x10 M8x13
L M6x10 M8x13 M10x16
Краны шаровые DN.ru BV3232P(2pc)-FP-3WL-F-ISO-H Ду20-80 Ру16 HYMT, трехходовые L-тип, полнопроходные, фланцевые, корпус - нержавеющая сталь SS316, с пневмоприводом PA-DA, пневмораспределителем 4M310-08 24В NAMUR, БКВ APL-510N EX и БПВ AFC2000

Эскиз габаритов и размеров пневмопривода PA-DA

Технические параметры пневмораспределителя DN.ru 4М310-08 24В NAMUR:

Наименование Значение
Конструкция золотникового типа
Модель пневмораспределителя 4М310-08 24В NAMUR
Напряжение питания 24В
Испытательное давление (проверка прочности корпуса. Не для эксплуатации!), бар 10
Рабочее давление (рекомендуемый диапазон для нормальной работы), бар 1.5 ÷ 1.8
Вид пневмораспределителя 5/2 пятилинейный, двухпозиционный
Рабочая среда очищенный воздух (тонкость очистки 40 мкм)
Эффективная площадь сечения, мм2 25
Температура эксплуатации, °C от 0 до +60
Максимальная частота срабатывания, цикл/сек 5
Ручное дублирование есть
Степень защиты, IP 65
Соединение с пневмоприводом стыковочная поверхность по стандарту NAMUR (VDI/VDE3845)
Материал корпуса анодированный алюминий
Размеры выхлопных портов (сброс в атмосферу) 2 - PT1/4″
Размер портов отвода воздуха (в пневмопривод) 2 х Ø19.2 мм
Размер порта подвода воздуха (в пневмораспределитель) G1/4″
Время отклика, сек 0.05
Вес, кг 0.35
Средний ресурс, циклов 10 000 000
Краны шаровые DN.ru BV3232P(2pc)-FP-3WL-F-ISO-H Ду20-80 Ру16 HYMT, трехходовые L-тип, полнопроходные, фланцевые, корпус - нержавеющая сталь SS316, с пневмоприводом PA-DA, пневмораспределителем 4M310-08 24В NAMUR, БКВ APL-510N EX и БПВ AFC2000

Пневмораспределитель DN.ru 4М310-08 24В NAMUR

Габариты и размеры пневмораспределителя DN.ru 4М310-08 24В NAMUR:

Модель 4М310-08 24В NAMUR
A, мм 40
C, мм 24
D, мм 28
E, мм 32
F, мм 40
G, мм 21.5
H, мм 69
I, мм 45
K, мм 17.5
L, мм 135
J, мм 29.3
N, мм 40
M, мм 27
Краны шаровые DN.ru BV3232P(2pc)-FP-3WL-F-ISO-H Ду20-80 Ру16 HYMT, трехходовые L-тип, полнопроходные, фланцевые, корпус - нержавеющая сталь SS316, с пневмоприводом PA-DA, пневмораспределителем 4M310-08 24В NAMUR, БКВ APL-510N EX и БПВ AFC2000

Эскиз габаритов и размеров пневмораспределителя DN.ru 4М310-08 24В NAMUR

Технические параметры блока концевых выключателей APL-510N EX:

Наименование Значение
Корпус всепогодный IP67 взрывозащищенный Exd IIB T6
Полный угол поворот, ° 90
Кабельные вводы 2 x NPT3/4″
Электрическое подключение клеммы с винтовым зажимом 8 точек (0,08 – 2,5) мм2
Резьба кабельного ввода 2 x NPT3/4″
Тип визуального индикатора двухцветная полусфера: ОТКРЫТО (Open) - желтый; ЗАКРЫТО (Closed) - красный
Переключатели/датчики два механических переключателя два датчика приближения
Номинальное напряжение, В 250
Номинальный ток, А 16
Допустимая температура окружающей среды, °С от -20 до +66
Средний ресурс, циклов 10 000 000
Вес, кг 1.8
Краны шаровые DN.ru BV3232P(2pc)-FP-3WL-F-ISO-H Ду20-80 Ру16 HYMT, трехходовые L-тип, полнопроходные, фланцевые, корпус - нержавеющая сталь SS316, с пневмоприводом PA-DA, пневмораспределителем 4M310-08 24В NAMUR, БКВ APL-510N EX и БПВ AFC2000

Блок концевых выключателей APL-510N EX

Габариты и размеры блока концевых выключателей APL-510N EX:

Модель пневмораспределителя APL-510N EX
A, мм 118
B, мм 118
C, мм 138.4
D, мм 17
E, мм 19
F, мм 7
G, мм 3
H, мм 4
I, мм 59
J, мм 59
K, мм 59
L, мм 59
M, мм 121.4
Ød1, мм 50
Ød2, мм 5
Краны шаровые DN.ru BV3232P(2pc)-FP-3WL-F-ISO-H Ду20-80 Ру16 HYMT, трехходовые L-тип, полнопроходные, фланцевые, корпус - нержавеющая сталь SS316, с пневмоприводом PA-DA, пневмораспределителем 4M310-08 24В NAMUR, БКВ APL-510N EX и БПВ AFC2000

Эскиз габаритов и размеров блока концевых выключателей APL-510N EX

Технические параметры блока подготовки воздуха AFC2000:

Наименование Значение
Рабочее давление, бар 8
Максимальное давление, бар 10
Регулируемый диапазон давления, бар 0.5…9
Давление разрушения, бар 15
Подсоединение воздуха 1/4″
Рабочая температура, ⁰C от -5 до +60
Ручное дублирование есть
Степень защиты, IP 65
Размер фильтруемых частиц, мкм 40
Вес, кг 0.395
Краны шаровые DN.ru BV3232P(2pc)-FP-3WL-F-ISO-H Ду20-80 Ру16 HYMT, трехходовые L-тип, полнопроходные, фланцевые, корпус - нержавеющая сталь SS316, с пневмоприводом PA-DA, пневмораспределителем 4M310-08 24В NAMUR, БКВ APL-510N EX и БПВ AFC2000

Блок подготовки воздуха AFC2000

Габариты и размеры блока подготовки воздуха AFC2000:

Модель AFC2000
A, мм 162
B, мм 88
C, мм 139
D, мм 31
E, мм 53.5
F, мм 12
G, мм 8
H, мм 7
I, мм 13.3
J, мм 39
K, мм 5
L, мм 40
M, мм 32
N, мм 53
O, мм 29
P, мм 6
R, мм 41.5
Краны шаровые DN.ru BV3232P(2pc)-FP-3WL-F-ISO-H Ду20-80 Ру16 HYMT, трехходовые L-тип, полнопроходные, фланцевые, корпус - нержавеющая сталь SS316, с пневмоприводом PA-DA, пневмораспределителем 4M310-08 24В NAMUR, БКВ APL-510N EX и БПВ AFC2000

Эскиз габаритов и размеров блока подготовки воздуха AFC2000

Быстрый заказ

Вы можете отправить нам запрос на необходимые позиции и наш менеджер свяжется с вами в ближайшее время для формирования заказа

Нажмите, чтобы загрузить файлы или перетащите сюда
Максимальный размер файла - 10 Мб. Типы файлов: jpg, jpeg, png, xls, xlsx, doc, docx, pdf.