Краны шаровые DN.ru BV3232P(2pc)-FP-F-ISO-H Ду100 Ру16 ZGY, корпус - нержавеющая сталь CF8М/AISI 316, уплотнение - PTFE, полнопроходные фланцевые с ISO-фланцем и рукояткой применяются в качестве запорной арматуры в системах теплоснабжения, водоснабжения, топливных и пневмосистемах со сжатым воздухом и нейтральными газами. Установка кранов данной серии возможна в системы транспортирующие жидкие и газообразные среды неагрессивные к материалам крана. Использование шаровых кранов в качестве регулирующей арматуры не допускается. Перекрытие рабочего потока происходит посредством запирающего элемента, которым служит шар со сквозным цилиндрическим отверстием. С помощью рукоятки, установленной на корпусе, осуществляется поворот шара вокруг оси. Для полного перекрытия потока достаточно повернуть ее на угол 90 градусов. |
Общие технические характеристики кранов шаровых DN.ru BV3232P(2pc)-FP-F-ISO-H Ду100 Ру16 ZGY| Характеристика | Значение |
|---|
| Номинальный диаметр DN, мм | 100 | | Номинальное давление PN, бар | 16 | | Температура рабочей среды t, °C | от -29 до +150°C | | Герметичность в затворе | класс А ГОСТ 9544-2015 | | Рабочая среда | вода, пар, нейтральные среды, жидкая среда, газообразные среды | | Присоединение к трубопроводу | фланцевый | | Тип крана по проходному сечению | полнопроходной | | Материал корпуса | Нержавеющая сталь AISI/SS 316/08Х17Н13М2 | | Материал шара | Нержавеющая сталь AISI/SS 316/08Х17Н13М2 | | Средний срок службы, лет | 8 лет |
|  Изображение кранов шаровых DN.ru BV3232P(2pc)-FP-F-ISO-H Ду100 Ру16 ZGY |
Габариты и рамеры кранов шаровых DN.ru BV3232P(2pc)-FP-F-ISO-H Ду100 Ру16 ZGY| Модель | Ød, мм | L, мм | T, мм | F, мм | ØD1, мм | ØD2, мм | ØD3, мм | n, шт | Ød1, мм | H, мм | W, мм |
|---|
| Ду100 | 100 | 190 | 20 | 3 | 220 | 180 | 158 | 8 | 18 | 185 | 300 |
|  Эскиз габаритов и размеров кранов шаровых DN.ru BV3232P(2pc)-FP-F-ISO-H Ду100 Ру16 ZGY |
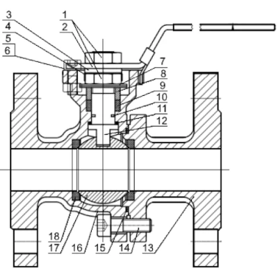
Материалы кранов шаровых DN.ru BV3232P(2pc)-FP-F-ISO-H Ду100 Ру16 ZGY| № | Наименование | Материал |
|---|
| 1 | Гайка | нержавеющая сталь AISI 304 (аналог 08Х18Н10) | | 2 | Рукоятка | нержавеющая сталь AISI 201 (аналог 12Х15Г9НД) + ПВХ | | 3 | Шайба | нержавеющая сталь AISI 304 (аналог 08Х18Н10) | | 4 | Фиксирующая гайка | нержавеющая сталь AISI 304 (аналог 08Х18Н10) | | 5 | Гайка | нержавеющая сталь AISI 304 (аналог 08Х18Н10) | | 6 | Винты с шестигранной головкой | нержавеющая сталь AISI 304 (аналог 08Х18Н10) | | 7 | Тарельчатая пружина | нержавеющая сталь AISI 304 (аналог 08Х18Н10) | | 8 | Крышка сальника | нержавеющая сталь AISI 304 (аналог 08Х18Н10) | | 9 | Сальниковое уплотнение | PTFE | | 10 | Уплотнительное кольцо | FKM | | 11 | Опорная прокладка | PTFE | | 12 | Шток | нержавеющая сталь AISI 316 (аналог 08Х17Н14М2) | | 13 | Крышка | нержавеющая сталь CF8М/AISI 316 (аналог 08Х17Н14М2) | | 14 | Винты с шестигранной головкой | нержавеющая сталь AISI 304 (аналог 08Х18Н10) | | 15 | Прокладка корпуса | PTFE | | 16 | Корпус | нержавеющая сталь CF8М/AISI 316 (аналог 08Х17Н14М2) | | 17 | Шар | нержавеющая сталь AISI 316 (аналог 08Х17Н14М2) | | 18 | Седло | RPTFE |
|  Эскиз материалов и деталей кранов шаровых DN.ru BV3232P(2pc)-FP-F-ISO-H Ду100 Ру16 ZGY |