Кран шаровой DN.ru BV3232P(4pc)-FP-3WL-F-ISO-H Ду65 Ру16 3-ходовой, полнопроходной, фланцевый, корпус - нержавеющая сталь SS316, уплотнение - PTFE, с электроприводом DN.ru QT-N-008EM-O1-220VAC-У1 HARK

Артикул: D160-80112   

О товаре

Артикул:
D160-80112
Бренд:
DN.ru
Страна производитель:
Россия
Доступность товара:
Товар в наличии на складе либо у поставщика
Серия бренда:
BV3232P
Присоединение:
фланцевое
Класс материала корпуса:
нержавеющая сталь
не указано
бронза
латунь
латунь никелированная
Низколегированная сталь
НПВХ
сталь
углеродистая сталь
чугун
Диаметр условный Ду(Dn), мм:
Диаметр в дюймах:
2 1/2″
не указано
1″
1 1/2″
1 1/4″
1/2″
1/4″
1/8″
10″
12″
14″
16″
2″
20″
24″
28″
3″
3 1/2″
3/4″
3/8″
32″
4″
5″
6″
7″
8″
½″
Давление условное Ру(Pn), бар:
Строительная длина, мм:
260
Проход шара:
полнопроходной
Таблица фигур:
не указано
10нж45фт
10нж45фт-01
10нж46фт
10нж46фт-01
10нж47фт-01
11б27п(т)1
11Б27п1
11Б27п11
11Б27п13
11Б27п17
11Б27п7
11б27фт1М
11С10ФТ
11с41п
11с42п
11с42фт (11с42п)
11с667п
11с67п
11с67пМ
11с69п
11с70п
11с967п
Рабочая среда крана:
вода, газообразные среды, нейтральные среды, нефтепродукты, пар
Тип управления:
С электроприводом
под редуктор/привод
ручной
С пневмоприводом
с редуктором
Устройство крана:
трехходовой
двухходовой
Регулирующий
сливной
четырехходовой
Тип трехходового крана:
L
Тип присоединения:
Фланцевый
Компрессионное
межфланцевый
муфтовый (резьбовой)
муфтовый (резьбовой) / американка
муфтовый (резьбовой) / гайка
муфтовый (резьбовой) / обжимной
муфтовый (резьбовой) / под приварку
муфтовый (резьбовой) / пресс
муфтовый (резьбовой) / цапка
муфтовый (резьбовой) / штуцер
обжим (цанговый)
под приварку
Под приварку / цапка
Под приварку / штуцер
пресс
Фланцевый / муфта
фланцевый / под приварку
Фланцевый / цапка
Корпус:
Нержавеющая сталь AISI/SS 316/08Х17Н14М2
Уплотнение шара:
PTFE / Фторопласт / Тефлон
не указано
EPDM
NBR
PPL
PTFE
Резина
Температура:
180 ℃
Применение:
водоснабжение, пароснабжение, теплоснабжение
Класс герметичности:
A
Все характеристики
на 2026-12-31
159 032,49
Гарантия 12 месяцев
Возможна отсрочка до 90 дней
В избранное
Бесплатная доставка до ТК
Сертифицированный товар

Характеристики

Кран шаровой применяется в качестве запорной арматуры, а также для смешивания и разделения потоков рабочей среды в системах теплоснабжения, водоснабжения, в паровых, топливных и пневмосистемах со сжатым воздухом и нейтральными газами. Установка кранов данной серии возможна в системы, транспортирующие жидкие и газообразные среды (вода, нефть, масла, пар, воздух, спирты, гликоль и др.), неагрессивные к материалам крана. Электроприводы четвертьоборотные предназначены для дистанционного и местного управления запорной трубопроводной арматурой, имеющей четвертьоборотный запорный орган. Применяются в различных отраслях народного хозяйства: в газовой, нефтяной, металлургической, пищевой промышленности, в жилищно-коммунальном хозяйстве и т.д.

Технические характеристики крана шарового DN.ru BV3232P(4pc)-FP-3WL-F-ISO-H Ду65 Ру16

  • Диаметр номинальный DN - 65 мм
  • Диаметр в дюймах - 2 1/2″
  • Давление номинальное PN - 16 бар
  • Материал корпуса - Нержавеющая сталь AISI/SS 316/08Х17Н14М2
  • Материал шара - Нержавеющая сталь AISI/SS 316/08Х17Н14М2
  • Проход шара крана - полнопроходной
  • Тип присоединения - Фланцевый
  • Присоединение - фланцевое
  • Тип управления - С электроприводом
  • Управление - электропривод 220В
  • Тип ISO фланца арматуры - F07, F10
  • Размер вала арматуры (квадрат) - 17х17 мм
  • Уплотнение - PTFE / Фторопласт / Тефлон
  • Тип устройства крана - трехходовой
  • Тип трехходового крана - L
  • Количество болтовых отверстий на фланце - 4 шт
  • Диаметр болтовых отверстий на фланце - 18 мм
  • Рабочая среда - вода, пар, нефтепродукты, нейтральные среды, газообразные среды
  • Температура рабочей среды, минимальная - от -25 °C
  • Температура рабочей среды, максимальная - до 180 °C
  • Область применения - водоснабжение, теплоснабжение, пароснабжение
  • Строительная длина - 260 мм
  • Водоразборный - нет
  • Наличие концевых выключателей - есть
  • Наличие спускника - нет
  • Класс герметичности - A
  • Цвет - серый
  • Наличие электропневматического позиционера - нет
  • Наличие колонки управления - нет
  • Кабельный ввод - гермоввод 2xM18
  • Модель арматуры - BV3232P(4pc)-FP-3WL-F-ISO-H
  • Маркировка - BV3232P(4pc)-FP-3WL-F-ISO-H QT-N-EM-O1-220VAC-У1 HARK
  • Серия - BV3232P
  • Бренд - DN.ru
  • Страна производитель - Россия
  • Срок службы - 10 лет
  • Гарантия - 12 мес.
  • Вес - 30.1 кг
Кран шаровой DN.ru BV3232P(4pc)-FP-3WL-F-ISO-H Ду65 Ру16 3-ходовой, полнопроходной, фланцевый, корпус - нержавеющая сталь SS316, уплотнение - PTFE, с электроприводом DN.ru QT-N-008EM-O1-220VAC-У1 HARK

Изображение крана шарового DN.ru BV3232P(4pc)-FP-3WL-F-ISO-H Ду65 Ру16

Габаритные и установочные размеры крана шарового DN.ru BV3232P(4pc)-FP-3WL-F-ISO-H Ду65 Ру16

  • d - 65 мм
  • d1 - 122 мм
  • k - 145 мм
  • D - 185 мм
  • L - 260 мм
  • H - 144 мм
  • T - 250 мм
  • N-Z - 8-18
Кран шаровой DN.ru BV3232P(4pc)-FP-3WL-F-ISO-H Ду65 Ру16 3-ходовой, полнопроходной, фланцевый, корпус - нержавеющая сталь SS316, уплотнение - PTFE, с электроприводом DN.ru QT-N-008EM-O1-220VAC-У1 HARK

Эскиз габаритов крана шарового DN.ru BV3232P(4pc)-FP-3WL-F-ISO-H Ду65 Ру16

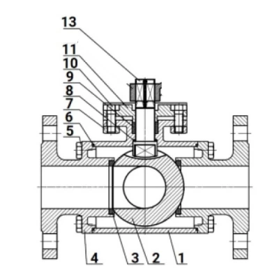
Деталировка крана шарового DN.ru BV3232P(4pc)-FP-3WL-F-ISO-H Ду65 Ру16

НаименованиеМатериал
1Корпуснержавеющая сталь AISI 316 (аналог 08Х17Н14М2)
2Шарнержавеющая сталь AISI 316 (аналог 08Х17Н14М2)
3УплотнениеPTFE
4Крышка корпусанержавеющая сталь AISI 316 (аналог 08Х17Н14М2)
5Болтнержавеющая сталь AISI 304 (аналог 08Х18Н10)
6ПрокладкаPTFE
7Гайканержавеющая сталь AISI 304 (аналог 08Х18Н10)
8ПрокладкаPTFE
9Уплотнение штокаPTFE
10Болтнержавеющая сталь AISI 304 (аналог 08Х18Н10)
11Сальникнержавеющая сталь AISI 304 (аналог 08Х18Н10)
13Штокнержавеющая сталь AISI 316 (аналог 08Х17Н14М2)
Кран шаровой DN.ru BV3232P(4pc)-FP-3WL-F-ISO-H Ду65 Ру16 3-ходовой, полнопроходной, фланцевый, корпус - нержавеющая сталь SS316, уплотнение - PTFE, с электроприводом DN.ru QT-N-008EM-O1-220VAC-У1 HARK

Эскиз материалов крана шарового DN.ru BV3232P(4pc)-FP-3WL-F-ISO-H Ду65 Ру16

Технические характеристики электропривода DN.ru QT-N-008EM-O1-220VAC-У1 HARK

  • Модель привода - QT-N-008EM-O1-220VAC-У1 HARK
  • Тип электропривода - четвертьоборотный
  • Тип двигателя - асинхронный
  • Угол поворота - 90°
  • Наличие ручного дублера - Шестигранник
  • Материал корпуса - алюминиевый сплав с эпоксидным порошковым покрытием
  • Материал вала - легированная сталь
  • Напряжение питания - 220В
  • Кабельный ввод - гермоввод 2xM18
  • Крутящий момент электропривода - 80 Нм
  • Тип ISO фланца - F05/F07
  • Время цикла (поворот на 90°) - 30 сек
  • Мощность электродвигателя - 12 Вт
  • Макс.размер вала арматуры - 17X17
  • Номинальный потребляемый ток - 0.25 А
  • Автоматическое отключение в положениях "открыто", "закрыто" и в случаях заклинивания - 2 концевых выключателя + 2 дополнительных выключателя (сухой контакт)
  • Температура окружающей среды - от -20 до +70°C
  • Класс защиты корпуса - IP67
  • Взрывозащита корпуса - нет
  • Бренд - DN.ru
  • Страна производитель - Китай
  • Вес - 3,6 кг
Изображение электропривода DN.ru QT-N-008EM-O1-220VAC-У1 HARK

Изображение электропривода DN.ru QT-N-008EM-O1-220VAC-У1 HARK

Деталировка электропривода DN.ru QT-N-008EM-O1-220VAC-У1 HARK

Наименование детали
1Индикатор положения
2Верхняя крышка
3Плата управления
4Конденсатор
5Нажимные кулачки
6Выходной вал с червячным колесом
7Корпус
8Ограничители хода выходного вала
9Червячный вал
10Электродвигатель
11Редуктор
12Крышка редуктора
Эскиз деталировки электропривода DN.ru QT-N-008EM-O1-220VAC-У1 HARK

Эскиз деталировки электропривода DN.ru QT-N-008EM-O1-220VAC-У1 HARK

Аналоги

График сравнения цен аналогичных кранов для теплоснабжения*. При клике на точку графика получите развернутую информацию.

*Краны подобраны по следующим параметрам: Ду65, Ру16, применение - водоснабжение, теплоснабжение, пароснабжение, тип присоединения - Фланцевый, проход шара крана - полнопроходной, класс материала корпуса - нержавеющая сталь, управление - электропривод 220В, водоразборный - нет, наличие колонки управления - нет, тип устройства крана - трехходовой

550,000
440,000
330,000
220,000
110,000
0
DN.ru
BV3232P(4pc)-FP-3WL-F-ISO-H QT-N-EM-O1-220VAC-У1 HARK
DN.ru
BV3232P(4pc)-FP-3WT-F-ISO-H E34-N-EM-O1-220VAC-У1
DN.ru
BV3232P(4pc)-FP-3WL-F-ISO-H E34-N-EM-O1-220VAC-У1
DN.ru
BV3232P(4pc)-FP-3WL-F-ISO-H QT-N-EM-O1-220VAC-У1
DN.ru
BV3232P(4pc)-FP-3WL-F-ISO-H QT-N-EM-O1-220VAC-У1
DN.ru
BV3232P(4pc)-FP-3WL-F-ISO-H QT-N-M-O2-220VAC-У1
DN.ru
BV3232P(4pc)-FP-3WL-F-ISO-H QT-N-EM-A1-220VAC-У1 HARK
DN.ru
BV3232P(4pc)-FP-3WL-F-ISO-H QT-N-EM-B1-220VAC-У1 HARK
DN.ru
BV3232P(4pc)-FP-3WL-F-ISO-H QT-EX-M-O2-220VAC-У1
DN.ru
BV3232P(4pc)-FP-3WL-F-ISO-H QTSA-N-EM-O0-220VAC

Доставка

Условия доставки:

Мы осуществляем доставку по Москве, Московской области, и другим регионам Российской Федерации.

Доставка по г.Москва (в пределах МКАД) и МО осуществляется собственным транспортом или курьером.

Доставка в другие регионы осуществляется при помощи транспортных компаний (СДЭК, Деловые линии, Байкал Сервис).

Самовывоз. Вы сможете самостоятельно забрать заказ оформив самовывоз с нашего склада или пункта выдачи заказов.

Быстрый заказ

Вы можете отправить нам запрос на необходимые позиции и наш менеджер свяжется с вами в ближайшее время для формирования заказа

Нажмите, чтобы загрузить файлы или перетащите сюда
Максимальный размер файла - 10 Мб. Типы файлов: jpg, jpeg, png, xls, xlsx, doc, docx, pdf.