Затвор дисковый поворотный DN.ru WBV0232E-2W-Fb-H Ду32 Ру16, корпус -алюминиевый сплав, диск - нержавеющая сталь 316L, уплотнение - EPDM, с электроприводом DN.ru QT-N-005EM-O1-380VAC-У1 380В HARK

Артикул: D050-94365   

Модификация

О товаре

Артикул: D050-94365
Бренд: DN.ru
Страна производитель: Россия
Серия бренда: WBV0232E-2W-Fb-H
Диаметр условный Ду(Dn): 32 мм
Давление условное Ру(Pn): 16 бар
Строительная длина: 36 мм
Температура рабочей среды макс.: 120 °С
Тип присоединения: межфланцевый
Управление: С электроприводом
Напряжение питания: 380В
Датчик обратной связи: нет
Наличие моментной муфты: нет
Класс материала корпуса: Алюминиевый сплав
Класс материала диска: нержавеющая сталь
Материал уплотнения: EPDM
Все характеристики
на 2026-12-31
30 059,58
Гарантия 12 месяцев
Возможна отсрочка до 90 дней
В избранное
Бесплатная доставка до ТК
Сертифицированный товар
Другие диаметры:

Характеристики

Затвор дисковый поворотный предназначен для использования в качестве запорной или регулирующей арматуры для управления потоками в системах теплоснабжения, водоснабжения, в технологических процессах пищевой, химической, нефтегазовой, целлюлозно-бумажной и других отраслях промышленности. Электроприводы четвертьоборотные предназначены для дистанционного и местного управления запорной трубопроводной арматурой, имеющей четвертьоборотный запорный орган. Применяются в различных отраслях народного хозяйства: в газовой, нефтяной, металлургической, пищевой промышленности, в жилищно-коммунальном хозяйстве и т.д.

Технические характеристики затвора дискового поворотного DN.ru WBV0232E-2W-Fb-H Ду32 Ру16

  • Тип затвора - поворотный дисковый
  • Диаметр номинальный DN - 32 мм
  • Диаметр в дюймах - 1 1/4″
  • Давление номинальное PN - 16 бар
  • Класс материала корпуса - Алюминиевый сплав
  • Материал корпуса - Алюминиевый сплав
  • Материал запорного органа - Нержавеющая сталь AISI 316L/03Х17Н14М3
  • Тип присоединения - межфланцевый
  • Тип управления - электропривод
  • Управление - С электроприводом
  • Тип ISO фланца арматуры - F05
  • Размер вала арматуры (квадрат) - 9х9 мм
  • Крутящий момент на валу арматуры - 25 Нм
  • Уплотнение - EPDM
  • Рабочая среда - вода, воздух, нейтральные среды
  • Температура рабочей среды, минимальная  - от -20 °C
  • Температура рабочей среды, максимальная - до 120 °C
  • Область применения - водоснабжение, теплоснабжение
  • Строительная длина - 36 мм
  • Наличие концевых выключателей - есть
  • Датчик обратной связи - нет
  • Цвет - синий
  • Взрывозащита - нет
  • Тип запорного органа - однодисковый
  • Наличие моментной муфты - нет
  • Кабельный ввод - гермоввод 2xM18
  • Модель арматуры - WBV0232E-2W-Fb-H
  • Серия - WBV0232E-2W-Fb-H
  • Бренд - DN.ru
  • Страна производитель - Россия
  • Гарантия - 12 мес.
  • Вес - 4.65 кг
Затвор дисковый поворотный DN.ru WBV0232E-2W-Fb-H Ду32 Ру16, корпус -алюминиевый сплав, диск - нержавеющая сталь 316L, уплотнение - EPDM, с  электроприводом DN.ru QT-N-005EM-O1-380VAC-У1 380В HARK

Изображение затвора дискового поворотного DN.ru WBV0232E-2W-Fb-H Ду32 Ру16

Габаритные и установочные размеры затвора дискового поворотного DN.ru WBV0232E-2W-Fb-H Ду32 Ру16

  • A - 93 мм
  • B - 44.5 мм
  • L - 36 мм
  • C - 10 мм
  • D1 - 50 мм
  • b - 8 мм
  • HxH - 9x9 мм
Затвор дисковый поворотный DN.ru WBV0232E-2W-Fb-H Ду32 Ру16, корпус -алюминиевый сплав, диск - нержавеющая сталь 316L, уплотнение - EPDM, с  электроприводом DN.ru QT-N-005EM-O1-380VAC-У1 380В HARK

Эскиз габаритов затвора дискового поворотного DN.ru WBV0232E-2W-Fb-H Ду32 Ру16

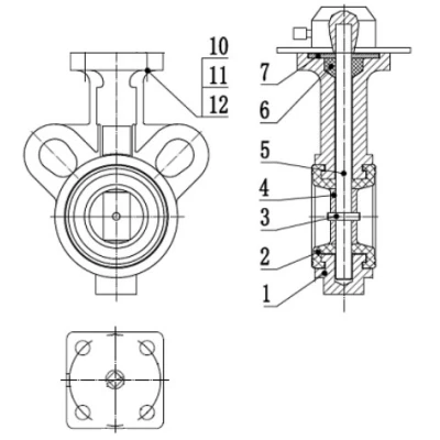
Деталировка затвора дискового поворотного DN.ru WBV0232E-2W-Fb-H Ду32 Ру16

НаименованиеМатериал
1Корпусалюминиевый сплав
2Седловое уплотнениеEPDM
3Штифтнержавеющая сталь AISI 304 (аналог 08Х18Н10)
4Дискнержавеющая сталь AISI 316L (аналог 03Х17Н14М3)
5Штокнержавеющая сталь SS 410 (аналог 12Х13)
6Уплотнительное кольцоEPDM
7Пластинасталь 45
10,12Прокладканержавеющая сталь SS 201 (аналог 12Х15Г9НД)
11Гайканержавеющая сталь SS 201 (аналог 12Х15Г9НД)
Затвор дисковый поворотный DN.ru WBV0232E-2W-Fb-H Ду32 Ру16, корпус -алюминиевый сплав, диск - нержавеющая сталь 316L, уплотнение - EPDM, с  электроприводом DN.ru QT-N-005EM-O1-380VAC-У1 380В HARK

Эскиз материалов затвора дискового поворотного DN.ru WBV0232E-2W-Fb-H Ду32 Ру16

Технические характеристики электропривода DN.ru QT-N-005EM-О1-380VAC-У1 HARK

  • Модель привода - QT-N-005EM-О1-380VAC-У1 HARK
  • Тип электропривода - четвертьоборотный
  • Тип двигателя - асинхронный
  • Угол поворота - 90°
  • Наличие ручного дублера - Шестигранник
  • Материал корпуса - алюминиевый сплав с эпоксидным порошковым покрытием
  • Материал вала - легированная сталь
  • Напряжение питания - 380В
  • Кабельный ввод - гермоввод 2xM18
  • Крутящий момент электропривода - 50 Нм
  • Тип ISO фланца - F05, F07
  • Время цикла (поворот на 90°) - 30 сек
  • Мощность электродвигателя - 10 Вт
  • Макс.размер вала арматуры - 14x14
  • Номинальный потребляемый ток - 0,12 А
  • Автоматическое отключение в положениях "открыто", "закрыто" и в случаях заклинивания - 2 концевых выключателя + 2 дополнительных выключателя (сухой контакт)
  • Температура окружающей среды - от -20 до +70°C
  • Класс защиты корпуса - IP67
  • Взрывозащита корпуса - нет
  • Бренд - DN.ru
  • Страна производитель - Китай
  • Вес - 3,6 кг
Изображение электропривода DN.ru QT-N-005EM-О1-380VAC-У1 HARK

Изображение электропривода DN.ru QT-N-005EM-О1-380VAC-У1 HARK

Деталировка электропривода DN.ru QT-N-005EM-О1-380VAC-У1 HARK

Наименование детали
1Индикатор положения
2Верхняя крышка
3Плата управления
4Конденсатор
5Нажимные кулачки
6Выходной вал с червячным колесом
7Корпус
8Ограничители хода выходного вала
9Червячный вал
10Электродвигатель
11Редуктор
12Крышка редуктора
Эскиз деталировки электропривода DN.ru QT-N-005EM-О1-380VAC-У1 HARK

Эскиз деталировки электропривода DN.ru QT-N-005EM-О1-380VAC-У1 HARK

Аналоги

График сравнения цен аналогичных затворов*. При клике на точку графика получите развернутую информацию.

*Затворы подобраны по следующим параметрам: Ду32, Ру16, тип присоединения - межфланцевый, класс материала корпуса - Алюминиевый сплав, класс материала запорного органа - нержавеющая сталь, уплотнение - EPDM , управление - С электроприводом, наличие концевых выключателей - есть

100,000
80,000
60,000
40,000
20,000
0
DN.ru
WBV0232E-2W-Fb QT-N-EM-O1-220VAC-У1
DN.ru
WBV0232E-2W-Fb QT-N-EM-O1-220VAC-У1
DN.ru
WBV0232E-2W-Fb QT-N-EM-O1-24VDC-У1
DN.ru
WBV0232E-2W-Fb QT-N-003EM-O1-12VDC-У1
DN.ru
WBV0232E-2W-Fb-H QT-N-EM-O1-220VAC-У1 HARK
DN.ru
WBV0232E-2W-Fb QT-N-EM-O1-220VAC-У1
DN.ru
WBV0232E-2W-Fb-H QT-N-EM-O1-380VAC-У1 HARK
DN.ru
WBV0232E-2W-Fb QT-N-EM-O1-220VAC-У1
DN.ru
WBV0232E-2W-Fb QT-N-EM-O1-380VAC-У1
DN.ru
WBV0232E-2W-Fb-H QT-N-003EM-O1-24VDC-У1 HARK
DN.ru
WBV0232E-2W-Fb QT-N-EM-O1-24VDC-У1
DN.ru
WBV0232E-2W-Fb QT-N-M-O2-380VAC-У1
DN.ru
WBV0232E-2W-Fb QT-N-M-O2-220VAC-У1
DN.ru
WBV0232E-2W-Fb-H с ГЗ-ОФ-220В
DN.ru
WBV0232E-2W-Fb-H с ГЗ-ОФ-380В
DN.ru
WBV0232E-2W-Fb-H с ГЗ-ОФ-24В
DN.ru
WBV0232E-2W-Fb-H с QT-N-хEM-A1 220В
DN.ru
WBV0232E-2W-Fb-H с QT-N-хEM-B1 220В
DN.ru
WBV0232E-2W-Fb QT-EX-M-O2-380VAC-У1
DN.ru
WBV0232E-2W-Fb QT-EX-M-O2-220VAC-У1
DN.ru
WBV0232E-2W-Fb-H с ГЗ-ОФВ-220В
DN.ru
WBV0232E-2W-Fb-H с ГЗ-ОФВ-380В
DN.ru
WBV0232E-2W-Fb-H с ГЗ-ОФВ-24В

Доставка

Условия доставки:

Мы осуществляем доставку по Москве, Московской области, и другим регионам Российской Федерации.

Доставка по г.Москва (в пределах МКАД) и МО осуществляется собственным транспортом или курьером.

Доставка в другие регионы осуществляется при помощи транспортных компаний (СДЭК, Деловые линии, Байкал Сервис).

Самовывоз. Вы сможете самостоятельно забрать заказ оформив самовывоз с нашего склада или пункта выдачи заказов.

Быстрый заказ

Вы можете отправить нам запрос на необходимые позиции и наш менеджер свяжется с вами в ближайшее время для формирования заказа

Нажмите, чтобы загрузить файлы или перетащите сюда
Максимальный размер файла - 10 Мб. Типы файлов: jpg, jpeg, png, xls, xlsx, doc, docx, pdf.