Задвижка шиберная предназначена для установки на трубопроводе в качестве запорного устройства и регулирования потока рабочей среды в системах водоснабжения (кроме систем питьевого водопровода) и химической промышленности. Пневмораспределитель служит для изменения направления, пуска, остановки потоков сжатого воздуха в пневматической системе в зависимости от внешнего управляющего воздействия. Индукционный датчик – это датчик бесконтактного типа, предназначенный для контроля положения объектов из металлов. Блок подготовки воздуха предназначен для очистки сжатого воздуха от капельной влаги и твердых частиц, удаления конденсата, автоматического поддержания величины давления на заданном уровне, подвода смазочного материала из резервуара в поток сжатого воздуха к элементам пневмосистемы. |
Технические параметры задвижек шиберных DN.ru GVKR1331E-2W-Fb-2P Ду300 Ру6 WENZ| Характеристика | Значение |
|---|
| Номинальное давление задвижки PN, бар | 6 | | Температура рабочей среды t, °C | от -30 до +110 | | Рабочая среда | вода, слабозагрязненные жидкости с содержанием взвешенных частиц до 5% | | Направление потока среды | двустороннее | | Направление потока среды | А ГОСТ 9544-2015 | | Тип управления | пневмоцилиндр | | Присоединение к трубопроводу | межфланцевое | | Материал корпуса | чугун GGG40 (аналог ВЧ40) | | Материал шибера | нержавеющая сталь AISI 304 (аналог 08Х18Н10) | | Материал уплотнения | EPDM | | Климатическое исполнение | УХЛ4 ГОСТ 15150-69 | | Сферы применения | системы отопления и водоснабжения (кроме систем питьевого водопровода), промышленные трубопроводы | | Средний срок службы, лет | 10 | | Средний ресурс, циклов закрытие/открытие | 20 000 – 50 000 |
|  Изображение задвижек шиберных DN.ru GVKR1331E-2W-Fb-2P Ду300 Ру6 WENZ |
Габариты и размеры задвижек шиберных DN.ru GVKR1331E-2W-Fb-2P Ду300 Ру6 WENZ| Модель | DN, мм | L, мм | D, мм | D1, мм | D2, мм | D0, мм | H1, мм | T, мм | Ød, мм | G, дюйм | N-Th | ⬤, шт | ⊕, шт | Ød, мм |
|---|
| Ду300 | 300 | 76 | 445 | 400 | 370 | 160 | 1360 | 16 | 4 | 1/2″ | 12-М20 | 4 | 8 | 23 |
|  Эскиз габаритов задвижек шиберных DN.ru GVKR1331E-2W-Fb-2P Ду300 Ру6 WENZ |
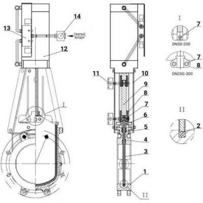
Материалы деталей задвижек шиберных DN.ru GVKR1331E-2W-Fb-2P Ду300 Ру6 WENZ| № | Наименование | Материал |
|---|
| 1 | Корпус | чугун GGG40 (аналог ВЧ40) | | 2 | Уплотнительное кольцо | EPDM | | 3 | Шибер | нержавеющая сталь AISI 304 (аналог 08Х18Н10) | | 4 | Уплотнение направляющей | PTFE | | 5 | Набивка | PTFE | | 6 | Сальниковая набивка | сталь WCB (аналог 25Л) | | 7 | Штифт | сталь 45 | | 8 | Патрон | сталь WCB (аналог 25Л) | | 9 | Шток | нержавеющая сталь 2Cr13 (аналог ст.20Х13) | | 10 | Стойка | сталь Q235 (аналог Cт3) | | 11 | Переключатель | | | 12 | Пневмоцилиндр | | | 13 | Соленоидный клапан | | | 14 | Фильтр | |
|  Материалы деталей задвижек шиберных DN.ru GVKR1331E-2W-Fb-2P Ду300 Ру6 WENZ |
Основные параметры концевых индукционных датчиков DN.ru LJ12A3-4-Z/EX 24В DC для шиберной задвижки| Характеристика | Значение |
|---|
| Конструкция | цилиндрическая | | Тип датчика | индукционный | | Напряжение питания | 24В постоянный ток | | Ток | 400 мА | | Состояние выхода | нормально разомкнутый | | Дистанция срабатывания | 4 мм | | Индикация срабатывания | есть | | Степень защиты | IP67 |
|  Изображение концевых индукционных датчиков DN.RU LJ12A3-4-Z/EX 24В DC |
Основные параметры пневмоцилиндра SC| Характеристика | Значение |
|---|
| Тип действия | двойного действия | | Рабочая среда | сжатый воздух | | Класс загрязненности | 6 по ГОСТ 17433-80 | | Тип крепления | FA FB CA CB LB YB | | Демпфирование | регулируемое | | Рабочий диапазон давления, бар | 1 - 9 | | Максимально допустимое давление, бар | 13,5 | | Диапазон рабочих температур, °С | от -5 до +70 |
| |
Основные параметры пневмораспределителей DN.ru 4V210-08 24В DC KUOIN| Характеристика | Значение |
|---|
| Конструкция | золотникового типа | | Испытательное давление (проверка прочности корпуса. Не для эксплуатации!), бар | 15 | | Рабочее давление (рекомендуемый диапазон для нормальной работы), бар | 1,5 ÷ 8 | | Вид пневмораспределителя | 5/2 пятилинейный, двухпозиционный | | Рабочая среда | очищенный воздух (тонкость очистки 40 мкм) | | Эффективная площадь сечения, мм2 | 16 (Cv = 0,89) | | Температура эксплуатации, °C | от -20 до +70 | | Максимальная частота срабатывания | 8 циклов в секунду | | Ручное дублирование | есть | | Степень защиты | IP 65 | | Соединение с пневмоприводом | через пневматические шланги | | Крепление к поверхности | через сквозные отверстия в корпусе | | Материал корпуса | анодированный алюминий | | Размеры выхлопных портов (сброс в атмосферу) | 2 - G1/4” | | Размер портов отвода воздуха (в пневмопривод) | 2 - G1/8” | | Размер порта подвода воздуха (в пневмораспределитель) | G1/8” | | Время отклика, сек | 0,05 | | Напряжение питания, В | 24DC | | Мощность катушки | 4,8 Вт | | Средний ресурс, циклов | 10 000 000 | | Вес, кг | 0,22 |
|  Изображение пневмораспределителей DN.RU 4V210-08 24В DC KUOIN |
Деталировка пневмораспределителей Dn.ru 4V210-08 24В DC KUOIN| № | Наименование детали |
|---|
| 1 | Соединитель | | 2 | Гайка катушки | | 3 | Катушка | | 4 | Сердечник | | 5 | Неподвижная пластина | | 6 | Поршень | | 7 | Комплект для запуска | | 8 | Корпус | | 9 | Уплотнительное кольцо | | 10 | Крышка корпуса | | 11 | Фиксирующий винт | | 12 | Пружина золотника | | 13 | Прокладка нижнего кожуха | | 14 | Уплотнительное кольцо золотника | | 15 | Золотник | | 16 | Уплотнительное кольцо поршня | | 17 | Основная пружина | | 18 | Ручной дублер |
|  Эскиз деталировки пневмораспределителей Dn.ru 4V210-08 24В DC KUOIN |
Технические параметры блока подготовки воздуха DN.ru AFC2000| Характеристика | Значение |
|---|
| Рабочее давление, бар | 8 | | Максимальное давление, бар | 10 | | Регулируемый диапазон давления, бар | 0,5 ÷ 9 | | Давление разрушения, бар | 15 | | Подсоединение воздуха | 1/4" | | Рабочая температура, ⁰C | от -5 до +60 | | Размер фильтруемых частиц, мкм | 40 | | Вязкость масла | ISO VG 32 | | Вес, кг | 0.395 |
|  Изображение блока подготовки воздуха DN.ru AFC2000 |