Кран шаровой применяется в качестве запорной арматуры в системах теплоснабжения, водоснабжения, в топливных и пневмосистемах со сжатым воздухом и нейтральными газами. Установка кранов данной серии возможна в системы, транспортирующие жидкие и газообразные среды (вода, нефть, масла, воздух, спирты, гликоль и др.), неагрессивные к материалам крана. |
Общие технические характеристики кранов шаровых DN.ru BV3232P-FP-Fb-ISO-H WDVF Ду50-100 Ру16 полнопроходных, межфланцевых| Характеристика | Значение |
|---|
| Номинальное давление | 16 бар | | Температура рабочей среды | от -20 до +180 ⁰C | | Класс герметичности | «А» ГОСТ 9544-2015 | | Рабочая среда | вода, нефтепродукты и другие жидкие или газообразные среды, нейтральные к применяемым материалам | | Присоединение к трубопроводу | межфланцевое | | Тип крана по проходному сечению | полнопроходной | | Средний срок службы | 10 лет | | Страна производитель | Россия |
|  Изображение кранов шаровых DN.ru BV3232P-FP-Fb-ISO-H WDVF Ду50-100 Ру16 полнопроходных, межфланцевых |
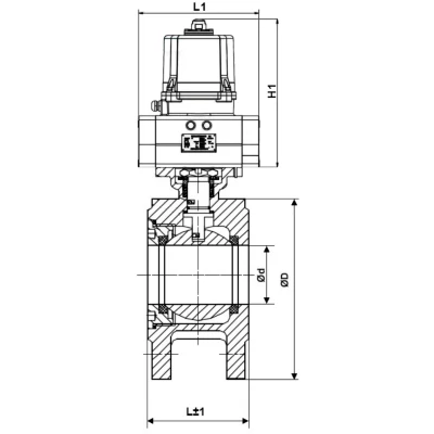
Габариты и рамеры кранов шаровых DN.ru BV3232P-FP-Fb-ISO-H WDVF Ду50-100 Ру16 полнопроходных, межфланцевых| Модель | d, мм | D, мм | L, мм | L1, мм | H1, мм |
|---|
| Ду50 | 49 | 160 | 73 | 266 | 361 | | Ду80 | 76 | 192 | 118 | 377 | 411 | | Ду100 | 90 | 214 | 140 | 377 | 411 |
|  Эскиз габаритов и размеров кранов шаровых DN.ru BV3232P-FP-Fb-ISO-H WDVF Ду50-100 Ру16 полнопроходных, межфланцевых |
Материалы кранов шаровых DN.ru BV3232P-FP-Fb-ISO-H WDVF Ду50-100 Ру16 полнопроходных, межфланцевых| № | Наименование | Материал |
|---|
| 1 | Крышка корпуса | нержавеющая сталь CF8М/ AISI 316 (аналог 08Х17Н14М2) | | 2 | Седло | PTFE | | 3 | Шар | нержавеющая сталь AISI 316 (аналог 08Х17Н14М2) | | 4 | Прокладка | PTFE | | 5 | Корпус | нержавеющая сталь CF8М/ AISI 316 (аналог 08Х17Н14М2) | | 6 | Прокладка штока | PTFE | | 7 | Антистатическое устройство | нержавеющая сталь AISI 304 (аналог 08Х18Н10) | | 8 | Шток | нержавеющая сталь AISI 316 (аналог 08Х17Н14М2) | | 9 | Пружина-бабочка | нержавеющая сталь AISI 304 (аналог 08Х18Н10) | | 10 | Колпачок против ослабления | нержавеющая сталь AISI 304 (аналог 08Х18Н10) | | 14 | Стопорный штифт | нержавеющая сталь AISI 304 (аналог 08Х18Н10) | | 15 | Гайка | нержавеющая сталь A193-8 (аналог 12Х18Н10) | | 16 | Сальниковая набивка | нержавеющая сталь AISI 304 (аналог 08Х18Н10) | | 17 | Уплотнение | PTFE | | 18 | Уплотнительное кольцо | VITON |
|  Эскиз материалов и деталей кранов шаровых DN.ru BV3232P-FP-Fb-ISO-H WDVF Ду50-100 Ру16 полнопроходных, межфланцевых |
Технические характеристики электроприводов DN.ru QTSA-N-xEM-O0-220VAC| Характеристика | Значение |
|---|
| Тип электропривода | четвертьоборотный с пружинным возвратом | | Угол поворота, ° | 90±5 | | Материал корпуса | алюминиевый сплав, с полиэфирным порошковым покрытием | | Напряжение питания | 220V/AC, 50Гц | | Кабельный ввод | 2xM20x1,5 | | Тип присоединения | ISO 5211 | | Механический ограничитель | есть | | Класс защиты корпуса | IP67 | | Температура окружающей среды, °С | от -25 до +65 | | Влажность окружающей среды, % | ≤95 (при +25°С) | | Средний ресурс, циклов открытия/закрытия | 100 000 |
|  Изображение электроприводов DN.ru QTSA-N-xEM-O0-220VAC |
Материалы деталей электроприводов DN.ru QTSA-N-xEM-O0-220VAC| № | Наименование детали | Материал |
|---|
| 1 | Верхняя крышка | алюминиевый слав ADC12 | | 2 | Корпус | алюминиевый слав AL104 | | 3 | Боковая крышка | алюминиевый слав ADC12 | | 4 | Кабельный ввод | нейлон | | 5 | Возвратные пружины | пружинная сталь | | 6 | Поршень | алюминиевый слав ADC12 | | 7 | Разделительный блок | углеродистая сталь 45 | | 8 | Механизм привода | легированная сталь 40Cr | | 9 | Смотровое окно | закаленное стекло | | 10 | Кабельный ввод | огнестойкий нейлон | | 11 | Обогреватель | керамика | | 12 | Электродвигатель | интегрированный набор | | 13 | Регулировочный кулачок | алюминиевый слав ADC12 | | 14 | Концевые микропереключатели | интегрированная сборка | | 15 | Монтажная пластина | углеродистая сталь Q235 | | 16 | Выходной вал | углеродистая сталь 45 | | 17 | Подшипник | нержавеющая сталь | | 18 | Индикатор положения | нейлон | | 19 | Конденсатор | композитный материал | | 20 | Колодка | интегрированный набор |
|  Эскиз деталировки электроприводов DN.ru QTSA-N-xEM-O0-220VAC |