Кран шаровой применяется в качестве запорной арматуры в системах теплоснабжения, водоснабжения, в топливных и пневмосистемах со сжатым воздухом и нейтральными газами. Установка кранов данной серии возможна в системы, транспортирующие жидкие и газообразные среды (вода, нефть, масла, воздух, спирты, гликоль и др.), неагрессивные к материалам крана. |
Общие технические характеристики кранов шаровых DN.ru BV3232P-FP-Fb-ISO-H WDVF Ду50-100 Ру16 полнопроходных, межфланцевых| Характеристика | Значение |
|---|
| Номинальное давление | 16 бар | | Температура рабочей среды | от -20 до +180 ⁰C | | Класс герметичности | «А» ГОСТ 9544-2015 | | Рабочая среда | вода, нефтепродукты и другие жидкие или газообразные среды, нейтральные к применяемым материалам | | Присоединение к трубопроводу | межфланцевое | | Тип крана по проходному сечению | полнопроходной | | Средний срок службы | 10 лет | | Страна производитель | Россия |
|  Изображение кранов шаровых DN.ru BV3232P-FP-Fb-ISO-H WDVF Ду50-100 Ру16 полнопроходных, межфланцевых |
Габариты и рамеры кранов шаровых DN.ru BV3232P-FP-Fb-ISO-H WDVF Ду50-100 Ру16 полнопроходных, межфланцевых| Модель | d, мм | D, мм | L, мм | L1, мм | F, мм | E, мм | G, мм | X, мм | Y, мм |
|---|
| Ду50 | 49 | 160 | 73 | 204 | 128.7 | 120 | 77 | 88 | 162 | | Ду80 | 76 | 192 | 118 | 268 | 153 | 133 | 77 | 88 | 162 | | Ду100 | 90 | 214 | 140 | 268 | 153 | 133 | 77 | 88 | 162 |
|  Эскиз габаритов и размеров кранов шаровых DN.ru BV3232P-FP-Fb-ISO-H WDVF Ду50-100 Ру16 полнопроходных, межфланцевых |
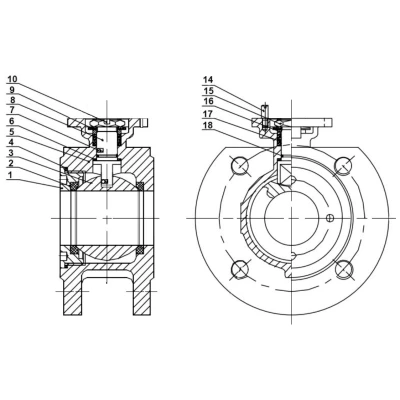
Материалы кранов шаровых DN.ru BV3232P-FP-Fb-ISO-H WDVF Ду50-100 Ру16 полнопроходных, межфланцевых| № | Наименование | Материал |
|---|
| 1 | Крышка корпуса | нержавеющая сталь CF8М/ AISI 316 (аналог 08Х17Н14М2) | | 2 | Седло | PTFE | | 3 | Шар | нержавеющая сталь AISI 316 (аналог 08Х17Н14М2) | | 4 | Прокладка | PTFE | | 5 | Корпус | нержавеющая сталь CF8М/ AISI 316 (аналог 08Х17Н14М2) | | 6 | Прокладка штока | PTFE | | 7 | Антистатическое устройство | нержавеющая сталь AISI 304 (аналог 08Х18Н10) | | 8 | Шток | нержавеющая сталь AISI 316 (аналог 08Х17Н14М2) | | 9 | Пружина-бабочка | нержавеющая сталь AISI 304 (аналог 08Х18Н10) | | 10 | Колпачок против ослабления | нержавеющая сталь AISI 304 (аналог 08Х18Н10) | | 14 | Стопорный штифт | нержавеющая сталь AISI 304 (аналог 08Х18Н10) | | 15 | Гайка | нержавеющая сталь A193-8 (аналог 12Х18Н10) | | 16 | Сальниковая набивка | нержавеющая сталь AISI 304 (аналог 08Х18Н10) | | 17 | Уплотнение | PTFE | | 18 | Уплотнительное кольцо | VITON |
|  Эскиз материалов и деталей кранов шаровых DN.ru BV3232P-FP-Fb-ISO-H WDVF Ду50-100 Ру16 полнопроходных, межфланцевых |
Технические параметры пневмоприводов DN.ru PA-DA двойного действия| Характеристика | Значение |
|---|
| Бренд | DN.ru | | Тип пневмопривода | двойного действия | | Номинальное давление | 12 бар | | Рабочее давление | 2...8 бар | | Среда | сжатый воздух | | Температура рабочей среды | от -20 °C до +80 °C | | Угол поворота | 0 - 90° | | Регулировка угла поворота | ±5% | | Страна производитель | Китай | | Максимальный диаметр частиц рабочей среды | ≤30 мкм2 | | Стандарт верхнего соединения | NAMUR | | Стандарт соединения подачи воздуха | NAMUR |
| Видео пневмоприводов DN.ru PA-DA двойного действия |
Деталировка пневмоприводов DN.ru PA-DA двойного действия| № | Наименование детали | Материал |
|---|
| 1 | Индикаторный винт | АБС-пластик | | 2 | Индикатор положения | АБС-пластик | | 3 | Пружинный зажим | нержавеющая сталь 304 | | 4 | Металлическая шайба | нержавеющая сталь 304 | | 5 | Прижимная шайба | инженерный пластик | | 6 | Корпус | экструдированный алюминиевый сплав с твердым анодированием | | 7 | Прижимная шайба | инженерный пластик | | 8 | Ограничитель | легированная сталь | | 9 | Уплотнительное кольцо вала верхнее | NBR | | 10 | Антифрикционное кольцо вала верхнее | инженерный пластик | | 11 | Вал | легированная сталь никелированная | | 12 | Антифрикционное кольцо вала нижнее | инженерный пластик | | 13 | Уплотнительное кольцо вала нижнее | NBR | | 14 | Заглушка | NBR | | 15 | Уплотнительное кольцо регулировочных винтов | NBR | | 16 | Шайба регулировочного винта | нержавеющая сталь 304 | | 17 | Стопорная гайка регулировочного винта | нержавеющая сталь 304 | | 18 | Винт регулировочный | нержавеющая сталь 304 | | 19 | Поршень | алюминиевый сплав, литой под давлением | | 20 | Направляющая накладка поршня | инженерный пластик | | 21 | Антифрикционное кольцо поршня | инженерный пластик | | 22 | Уплотнительное кольцо поршня | NBR | | 23 | Комплект пружин | пружинная сталь | | 24 | Уплотнительное кольцо крышки | NBR | | 25 | Торцевая крышка | литой алюминий с полиэфирным покрытием | | 26 | Винт крышки | нержавеющая сталь 304 | | 27 | Стопорный винт | нержавеющая сталь 304 | | 28 | Адаптер | углеродистая сталь |
|  Эскиз деталировки пневмоприводов DN.ru PA-DA двойного действия |
Технические параметры блоков подготовки воздуха DN.ru AFC2000| Характеристика | Значение |
|---|
| Рабочее давление, бар | 8 | | Максимальное давление, бар | 10 | | Регулируемый диапазон давления, бар | 0,5 ÷ 9 | | Давление разрушения, бар | 15 | | Подсоединение воздуха | 1/4" | | Рабочая температура, ⁰C | от -5 до +60 | | Размер фильтруемых частиц, мкм | 40 | | Вязкость масла | ISO VG 32 | | Вес, кг | 0,395 |
|  Изображение блоков подготовки воздуха DN.ru AFC2000 |
Технические параметры блоков концевых выключателей DN.ru APL-210N| Характеристика | Значение |
|---|
| Защита корпуса | всепогодный IP65 | | Температура окружающей среды, °C | от -40 до +80 | | Совместимые устройства | четвертьоборотные пневмоприводы; - исполнительные механизмы с поворотом вала на 90° | | Кабельные вводы | 2 x NPT1/2” | | Клеммная колодка | 8 ячеек 0.08-2.6 мм2 | | Напряжение | 12V, 24V, 38V, 48V, 110V, 220V, 250V | | Положение индикатора | ЗАКРЫТО: красный ОТКРЫТО: зелёный | | Датчик | 2 SPDT электромеханических микровыключателя OMRON V151-1C25 тип "сухой контакт" | | Внешнее покрытие | полиэстеровое покрытие (чёрное) | | Вал | стандартный вал – 17 мм |
|  Изображение блоков концевых выключателей DN.ru APL-210N |
Деталировка блоков концевых выключателей DN.ru APL-210N| № | Наименование | Материал |
|---|
| 1 | Корпус | литьевой алюминий | | 2 | Индикаторный колпак | полиэстер пластик | | 3 | 3D-индикатор | ABC -пластик | | 4 | Кулачок | полиэстер пластик | | 5 | Пружина | нержавеющая сталь | | 6 | Винты | нержавеющая сталь | | 7 | Уплотнительные кольца | NBR | | 8 | Втулка | бронза | | 9 | Клемма заземления | нержавеющая сталь | | 10 | Вал | нержавеющая сталь |
| |
Технические параметры пневмораспределителей DN.RU 4M310-08 AC220V (на корпус)| Характеристика | Значение |
|---|
| Конструкция | золотникового типа | | Максимальное давление, бар | 10 | | Рабочее давление (рекомендуемый диапазон для нормальной работы), бар | 1,5 ÷ 8 | | Вид пневмораспределителя | 5/2 пятилинейный, двухпозиционный | | Рабочая среда | очищенный воздух (тонкость очистки 40 мкм) | | Температура эксплуатации, °C | от 0 до +60 | | Частота срабатывания | 5 циклов в секунду | | Ручное дублирование | есть | | Степень защиты/класс изоляции | IP65/F | | Присоединение к пневмоприводу | стыковочная поверхность по стандарту NAMUR (VDI/VDE3845) | | Материал корпуса | анодированный алюминий | | Эффективная площадь сечения, мм2 | 25 (Cv = 1,4) | | Размеры выхлопных портов (сброс в атмосферу) | 2 - PT1/4” | | Размер порта подвода воздуха (в пневмораспределитель) | G1/4” | | Размер портов отвода воздуха (в пневмопривод) | 2 х Ø19.2 мм | | Время отклика, сек | 0,05 | | Напряжение питания, В | 220AC | | Мощность катушки | 5,5 ВА | | Вес, кг | 0,35 | | Средний ресурс, циклов | 10 000 000 |
|  Изображение пневмораспределителей DN.RU 4M310-08 AC220V (на корпус) |
Деталировка пневмораспределителей DN.RU 4M310-08 AC220V (на корпус)| № | Наименование детали | Материал |
|---|
| 1 | Разъем | инженерный пластик | | 2 | Гайка | POM + углеродистая сталь | | 3 | Катушка | медь | | 4 | Управляющие элементы | - | | 5 | Пластина | углеродистая сталь | | 6 | Поршень | POM | | 7 | Седло управляющего клапана | инженерный пластик | | 8 | Корпус клапана | алюминиевый сплав | | 9 | Золотник | алюминиевый сплав | | 10 | Уплотнительное кольцо O-образной формы | HNBR | | 11 | Задняя крышка | инженерный пластик | | 12 | Фильтр | синтетический материал | | 13 | Поршень | POM | | 14 | Пружина | нержавеющая сталь | | 15 | Ручной дублер | инженерный пластик | | 16 | Заднее седло | алюминиевый сплав | | 17 | Седло пружины | алюминиевый сплав | | 18 | Буксирная скоба типа C | 65Mn (аналог 65Г) |
|  Эскиз деталировки пневмораспределителей DN.RU 4M310-08 AC220V (на корпус) |
Технические параметры ручных дублеров DN.ru MONx-x-x-ISO| Характеристика | Значение |
|---|
| Режим работы | повторно-кратковременный, реверсивный | | Рабочая температура t, ⁰C | от–20 до +80; от–40 до +80 (низкотемпературная версия); от–20 до +160 (при сухом воздухе) | | Рабочая среда | фильтрованный сжатый воздух или неагрессивные газы, масла | | Климатическое исполнение | У, УХЛ, Т, ОМ по ГОСТ 15150-69 | | Степень защиты | IP67 | | Тип присоединения | ISO 5211 | | Применение | водоснабжение, отопление, пожаротушение, тепловые пункты | | Монтаж | горизонтальный/вертикальный | | Материал корпуса | сплав алюминия | | Ход | механический предел 0-90 ° | | Среда эксплуатации | в помещениях и на открытом воздухе | | Место установки | между пневмоприводом и шаровым краном или затвором | | Угол поворота вала | 90° ± 5° |
|  Изображение ручных дублеров DN.ru MONx-x-x-ISO |
Деталировка ручных дублеров DN.ru MONx-x-x-ISO| № | Наименование детали | Материал |
|---|
| 1 | Шток для монтажа пневмопривода | сталь 45 | | 2, 8 | Уплотнительное кольцо | EPDM | | 3 | Фиксирующая пружина | пружинная сталь | | 4 | Верхняя торцевая крышка | сплав алюминия | | 5 | Винт | нержавеющая сталь AISI 304 (аналог 08Х18Н10) | | 6 | Фиксирующая скоба (главная тяга) | нержавеющая сталь AISI 304 (аналог 08Х18Н10) | | 7 | Корпус | сплав алюминия | | 9 | Редуктор | чугун ВЧ50 | | 10 | Переходная муфта | чугун ВЧ40 | | 11 | Шток редуктора | чугун ВЧ40 |
|  Эскиз деталировки ручных дублеров DN.ru MONx-x-x-ISO |