Клапан регулирующий двухходовой DN.ru 25ч945нж VRg1-11M-LED-F Ду65 Ру16 VOD Kv=25 односедельный, корпус – серый чугун GG25, уплотнение – металл, фланцевый с электроприводом LEA-1200 220В, трехпозиционный, без датчика положения, IP54

Артикул: D230-17331   

О товаре

Артикул:
D230-17331
Бренд:
DN.ru
Страна производитель:
Россия
Тип клапана:
Регулирующий
Диаметр:
Ду65
Ду15
Ду20
Ду25
Ду32
Ду40
Ду50
Ду80
Ду100
Ду125
Ду150
Ду200
Ду250
Ду300
Ду350
Ду400
Ду450
Ду500
Ду600
Давление номинальное:
16 бар
10 бар
25 бар
40 бар
Тип присоединения:
Фланцевый
муфтовый (резьбовой)
Управление:
электропривод
не указано
маховик/под электропривод
пневмопривод двойного действия
электропривод 220В
электропривод 230В
Электропривод 24В
Материал корпуса:
Чугун серый GG25/СЧ25/EN-GJL-250
Максимальная температура:
150 °С
Применение:
Системы отопления, водоснабжение
Среда:
вода
Все характеристики
на 2026-03-31
59 654,34
Гарантия 12 месяцев
Возможна отсрочка до 90 дней
В избранное
Бесплатная доставка до ТК
Сертифицированный товар

Характеристики

Регулирующий клапан предназначен для изменения расхода рабочей среды в трубопроводе. Управление РК осуществляется посредством электропривода (электрический исполнительный механизм (ЭИМ)). Развиваемое приводом усилие передается через шток на плунжер, который, перемещаясь вверх или вниз, изменяет площадь проходного сечения в затворе и регулирует расход рабочей среды.

Основные технические характеристики клапана регулирующего DN.ru 25ч945нж VRg1-11M-LED-F Ду65 Ру16 VOD Kv=25, с LEA-1200 220В:

  • Давление номинальное PN - 16 бар
  • Диаметр номинальный DN - 65 мм
  • Среда - вода
  • Температура рабочей среды минимальная - 5°C
  • Температура рабочей среды максимальная - 150°C
  • Присоединение - фланцевое
  • Тип клапана - Регулирующий
  • Тип регулятора - регулирующий клапан
  • Тип регулирующего клапана - двухходовой
  • Таблица фигур - 25ч945нж
  • Характеристика регулирования - линейная
  • Климатическое исполнение - УХЛ4
  • Применение - водоснабжение, Системы отопления
  • Тип ЭИМ - LEA-1200
  • Рабочий ход - 20 мм
  • Частота - 50/60 Гц
  • Напряжение питания - 220В
  • Тип управления - 3-х позиционный
  • Максимальное усилие на штоке - 1200 Н
  • Степень защиты - IP54
  • Условная пропускная способность - 25 м3/ч
  • Температура окружающей среды - от 1°C до 50°C
  • Срок службы - 10 лет
  • Гарантийный срок - 12 мес.
  • Бренд - DN.ru
  • Страна производитель - Россия
  • Вес - 28 кг
Клапан регулирующий двухходовой DN.ru 25ч945нж VRg1-11M-LED-F Ду65 Ру16 VOD Kv=25 односедельный, корпус – серый чугун GG25, уплотнение – металл, фланцевый с электроприводом LEA-1200 220В, трехпозиционный, без датчика положения, IP54

Клапан регулирующий двухходовой DN.ru 25ч945нж VRg1-11M-LED-F Ду65 Ру16 VOD Kv=25 односедельный, корпус – серый чугун GG25, уплотнение – металл, фланцевый с электроприводом LEA-1200 220В, трехпозиционный, без датчика положения, IP54

Габариты и размеры клапана регулирующего DN.ru 25ч945нж VRg1-11M-LED-F Ду65 Ру16 VOD Kv=25, с LEA-1200 220В:

  • DN - 65 мм
  • ØD1 - 118 мм
  • ØD2 - 145 мм
  • ØD3 - 180 мм
  • L - 290 мм
  • n - 4 шт
  • Ød - 18 мм
  • H - 430 мм
Клапан регулирующий двухходовой DN.ru 25ч945нж VRg1-11M-LED-F Ду65 Ру16 VOD Kv=25 односедельный, корпус – серый чугун GG25, уплотнение – металл, фланцевый с электроприводом LEA-1200 220В, трехпозиционный, без датчика положения, IP54

Эскиз габаритов и размеров клапана регулирующего DN.ru 25ч945нж VRg1-11M-LED-F Ду65 Ру16 VOD Kv=25, с LEA-1200 220В

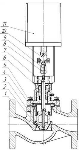
Таблица деталей и материалов клапана регулирующего DN.ru 25ч945нж VRg1-11M-LED-F Ду65 Ру16 VOD Kv=25, с LEA-1200 220В:

№ п/п Наименование детали Материал
1 Корпус серый чугун СЧ25
2 Седло сталь нержавеющая 12Х18Н10Т
3 Плунжер сталь нержавеющая 12Х18Н10Т
4 Стакан разгрузки -
5 Манжета паронит ПОН
6 Сальник EPDM
7 Шток -
8 Гайка -
9 Муфта -
10 Хомут с двумя винтами -
11 Электропривод -
Клапан регулирующий двухходовой DN.ru 25ч945нж VRg1-11M-LED-F Ду65 Ру16 VOD Kv=25 односедельный, корпус – серый чугун GG25, уплотнение – металл, фланцевый с электроприводом LEA-1200 220В, трехпозиционный, без датчика положения, IP54

Эскиз деталей и материалов клапана регулирующего DN.ru 25ч945нж VRg1-11M-LED-F Ду65 Ру16 VOD Kv=25, с LEA-1200 220В

Аналоги

График сравнения цен аналогичных клапанов регулирующих*.

*Клапаны регулирующие отобраны по следующим параметрам: Ду65, Ру16, класс материала корпуса - чугун, тип присоединения - Фланцевый, тип управления - Электропривод, напряжение питания - 220В, пропускная способность - 25 м3/ч, температура - 150 °C

260,000
208,000
156,000
104,000
52,000
0
DN.ru
25ч945нж VRg1-11M-LED-F LEA 220В
Энерготехномаш
РК 25ч945нж с Regada ST mini 472.0-0NFAG/00
Энерготехномаш
РК 25ч945нж с Regada ST mini 472.0-0DFSG/00 и датчиком положения
КПСР
2.17 REGADA ST mini 472.0-0NFAC/00
КПСР
2.17 REGADA ST mini 472.0-0NFBC/00
КПСР
2.17 REGADA ST mini 472.0-0NFSC/00
КПСР
2.17 REGADA ST 0 490.0-0NVAC/00
КПСР
КССР 100 REGADA ST 0 490.0-0NJSC/00

Доставка

Условия доставки:

Мы осуществляем доставку по Москве, Московской области, и другим регионам Российской Федерации.

Доставка по г.Москва (в пределах МКАД) и МО осуществляется собственным транспортом или курьером.

Доставка в другие регионы осуществляется при помощи транспортных компаний (СДЭК, Деловые линии, Байкал Сервис).

Самовывоз. Вы сможете самостоятельно забрать заказ оформив самовывоз с нашего склада или пункта выдачи заказов.

Быстрый заказ

Вы можете отправить нам запрос на необходимые позиции и наш менеджер свяжется с вами в ближайшее время для формирования заказа

Нажмите, чтобы загрузить файлы или перетащите сюда
Максимальный размер файла - 10 Мб. Типы файлов: jpg, jpeg, png, xls, xlsx, doc, docx, pdf.