Реле температуры RGP KP 6м

О товаре
Характеристики
Реле температуры (капиллярные защитные термостаты) применяются для регулирования температуры в системах ОВК, но основной функцией является защита жидкостного калорифера вентиляционной установки от замораживания в зимний период. Термореле с длиной капилляра от 1 до 12 метров производятся в Китае по заказу и под контролем компании RGP. Температурные реле отличаются простотой настройки, установки, подключения и надежностью в эксплуатации. Длина капиллярной трубки выбирается при заказе. Основная функция температурного реле с капилляром – непрерывно контролировать температуру воздуха после теплообменника и своевременно обнаруживать угрозу замерзания жидкости в его трубках, что позволяет предотвращать разрушение трубок отопительных калориферов от замерзания жидкости и от их разрыва. Внимание: от правильно подобранной длины и монтажа капилляра на ребрах калорифера зависит качество и скорость срабатывания при аварии. Реле температуры активирует следующие защитные функции: остановка вентилятора; закрытие заслонки наружного воздуха; открытие клапана теплоносителя калорифера на 100%; запуск циркуляционного насоса теплоносителя; включение звукового или светового сигнала аварии. Термостат защиты от замораживания чувствителен к падению температуры ниже установленного порога. При превышении температуры выше порога гистерезиса происходит автоматический сброс термостата (обратное переключение контактов). | |||||||||||||||||||||||
Технические параметры реле температуры RGP KP 6м
| ![]() Изображение реле температуры RGP KP 6м | ||||||||||||||||||||||
Габаритные и установочные размеры реле температуры RGP KP 6м
| ![]() Эскиз габаритов реле температуры RGP KP 6м | ||||||||||||||||||||||
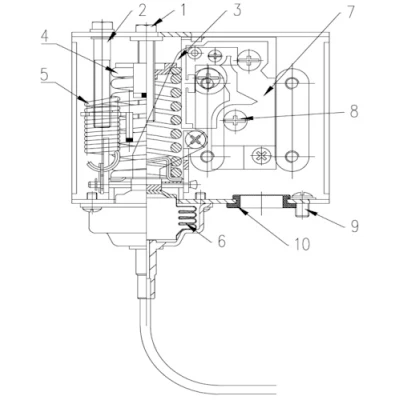
Деталировка реле температуры RGP KP 6м
| ![]() Эскиз деталировки реле температуры RGP KP 6м |
Паспорта и сертификаты
Доставка
Мы осуществляем доставку по Москве, Московской области, и другим регионам Российской Федерации.
Доставка по г.Москва (в пределах МКАД) и МО осуществляется собственным транспортом или курьером.
Доставка в другие регионы осуществляется при помощи транспортных компаний (СДЭК, Деловые линии, Байкал Сервис).
Самовывоз. Вы сможете самостоятельно забрать заказ оформив самовывоз с нашего склада или пункта выдачи заказов.
Быстрый заказ
Вы можете отправить нам запрос на необходимые позиции и наш менеджер свяжется с вами в ближайшее время для формирования заказа