Конденсатоотводчик АСТА ПМ123 Ду15 Ру16 поплавковый фланцевый, корпус - чугун

конденсатоотводчик+цена
конденсатоотводчик+цена
конденсатоотводчик+аста
конденсатоотводчик+фланцевый
конденсатоотводчик+поплавковый
Артикул: D150-00123   

О товаре

Артикул:
D150-00123
Бренд:
Аста
DN.ru
АДЛ
Страна производитель:
Россия
Диаметр:
15 мм
20 мм
25 мм
32 мм
40 мм
50 мм
Давление:
16 бар
25 бар
Тип конденсатоотводчика:
поплавковый
Тип присоединения:
Фланцевый
муфтовый (резьбовой)
Корпус:
Высокопрочный чугун GGG 40.3
Высокопрочный чугун GGG40/ВЧ40/EN-GJS-400-15
углеродистая сталь
Углеродистая сталь EN-1.0619
Чугун EN-JL1040
Применение:
теплоснабжение
Уплотнение:
Графит
не указано
Klingerit
Клингерит
Металлографит
Все характеристики
на 2025-04-25
27 912,38
Гарантия 12 месяцев
Возможна отсрочка до 90 дней
В избранное
Бесплатная доставка до ТК
Сертифицированный товар

Характеристики

АСТА ПМ123 – механические поплавковые конденсатоотводчики, предназначенные для эффективного отвода конденсата из паровых линий. Принцип действия основан на разности плотности пара и конденсата. При наполнении корпуса конденсатом, полый поплавок всплывает и открывает выпускной клапан. Неконденсируемые газы отводятся через встроенный в верхнюю часть корпуса термостатический воздухоотводчик. Преимущественно применяется для дренажа паропроводов, теплообменного оборудования, паровых регистров, калориферов, автоклавов, варочных котлов, сушильных цилиндров и др.

Общие параметры конденсатоотводчика Аста ПМ123 15 мм

  • Страна производитель - Россия
  • Тип конденсатоотводчика - поплавковый
  • Диаметр номинальный DN - 15 мм
  • Пропускная способность - 0.31 т/ч
  • Тип присоединения - Фланцевый
  • Присоединение - фланцевое
  • Максимальная температура рабочей среды - 250 С°
  • Давление номинальное PN - 16 бар
  • Тип уплотнения - Графит
  • Рабочая среда - пар
  • Материал корпуса - Высокопрочный чугун GGG 40.3
  • Вес - 4.5 кг
Конденсатоотводчик АСТА ПМ123 Ду15 Ру16 поплавковый фланцевый, корпус - чугун

Конденсатоотводчик Аста ПМ123

Габариты и размеры конденсатоотводчика Аста ПМ123 15 мм:

  • Dn - 15 мм
  • L - 150 мм
  • H - 171 мм
  • H1 - 71 мм
  • A - 110 мм
Конденсатоотводчик АСТА ПМ123 Ду15 Ру16 поплавковый фланцевый, корпус - чугун

Эскиз габаритные размеры Аста ПМ123

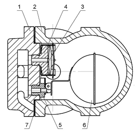
Материалы конденсатоотводчика Аста ПМ123 15 мм

Наименование Материал
1 Корпус Высокопрочный чугун GGG 40.3
2 Крышка Высокопрочный чугун GGG 40.3
3 Капсула Cталь AISI 304
4 Поплавок Cталь AISI 304
5 Болт Сталь оцинкованная
6 Седло воздухоотводчика Cталь AISI 304
7 Седло конденсатоотводчика Cталь AISI 304
8 Прокладка корпуса Графит
Конденсатоотводчик АСТА ПМ123 Ду15 Ру16 поплавковый фланцевый, корпус - чугун

Эскиз материалы Аста ПМ123 15 мм

Аналоги

График сравнения цен аналогичных конденсатоотводчиков*. При клике на точку графика получите развернутую информацию.

*Конденсатоотводчики подобраны по следующим параметрам: тип конденсатоотводчика - поплавковый, класс материала корпуса - чугун, тип присоединения - Фланцевый, диаметр - 15 мм, давление номинальное - 16 бар

28,000
22,400
16,800
11,200
5,600
0
АДЛ
Стимакс А11НС
АДЛ
Стимакс А11НС
АДЛ
Стимакс А11НС

Доставка

Условия доставки:

Мы осуществляем доставку по Москве, Московской области, и другим регионам Российской Федерации.

Доставка по г.Москва (в пределах МКАД) и МО осуществляется собственным транспортом или курьером.

Доставка в другие регионы осуществляется при помощи транспортных компаний (СДЭК, Деловые линии, Байкал Сервис).

Самовывоз. Вы сможете самостоятельно забрать заказ оформив самовывоз с нашего склада или пункта выдачи заказов.

Быстрый заказ

Вы можете отправить нам запрос на необходимые позиции и наш менеджер свяжется с вами в ближайшее время для формирования заказа

Нажмите, чтобы загрузить файлы или перетащите сюда
Максимальный размер файла - 10 Мб. Типы файлов: jpg, jpeg, png, xls, xlsx, doc, docx, pdf.