Клапаны обратные DN.ru VCT3232-T 1-2 1/2 Ду25-65 Ру16 ZGY резьбовые, поворотные, корпус - нержавеющая сталь CF8М/AISI 316, диск - нержавеющая сталь CF8М/AISI 316, уплотнение - PTFE

Aquaflame 2026 (2)
Aquaflame 2026 (2)-mobile
СТМ многоступенчатые насосы 2
СТМ многоступенчатые насосы 2-mobile
КИПиА Акваконтроль 2
КИПиА Акваконтроль 2-mobile

Клапан обратный поворотный (далее - КОП) предотвращает обратное движение среды за счет перекрытия его проходного сечения затвором, представляющего собой диск, закрепленный на штифте. Нормальное состояние КОП – закрытое, которое обеспечивается за счет собственного веса диска.

Технические параметры клапана обратного DN.ru VCT3232-T 1-2 1/2 Ду25-65 Ру16 ZGY резьбового

ХарактеристикаЗначение
Тип клапанаповотортный
Номинальный диаметр DN25-65
Номинальное давление PN, бар16
Температура рабочей среды t, °Cот -29 до +150
Температура окружающей среды, °Cот -29 до +45
Рабочая средавода, пар (до +120 ?C), воздух и другие газы и жидкости, совместимые с материалами деталей КОП
Материал корпусанержавеющая сталь CF8М/AISI 316 (аналог 08Х17Н14М2)
Материал дисканержавеющая сталь CF8М/AISI 316 (аналог 08Х17Н14М2)
Присоединение к трубопроводурезьба трубная цилиндрическая BSPP
Средний срок службы, лет10-15 (для чистой воды при средних значениях температуры и давления); 3-8 (для агрессивных сред и сред с высокими значениями температуры и давления)
Клапаны обратные DN.ru VCT3232-T 1-2 1/2 Ду25-65 Ру16 ZGY резьбовые, поворотные, корпус - нержавеющая сталь CF8М/AISI 316, диск - нержавеющая сталь CF8М/AISI 316, уплотнение - PTFE

Изображение клапана обратного DN.ru VCT3232-T 1-2 1/2 Ду25-65 Ру16 ZGY резьбового

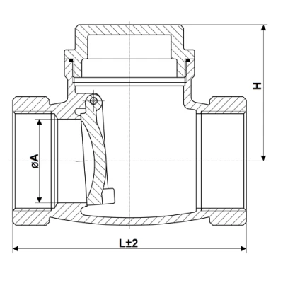
Габаритные и установочные размеры клапана обратного DN.ru VCT3232-T 1-2 1/2 Ду25-65 Ру16 ZGY резьбового

МодельOA, ммL±2, ммH, мм
VCT3232-T 1" Ду252550870.504
VCT3232-T 1" 1/2 Ду4040641171.120
VCT3232-T 2" 1/2 Ду6565901652.780
Клапаны обратные DN.ru VCT3232-T 1-2 1/2 Ду25-65 Ру16 ZGY резьбовые, поворотные, корпус - нержавеющая сталь CF8М/AISI 316, диск - нержавеющая сталь CF8М/AISI 316, уплотнение - PTFE

Эскиз габаритов клапана обратного DN.ru VCT3232-T 1-2 1/2 Ду25-65 Ру16 ZGY резьбового

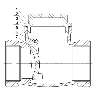
Деталировка клапана обратного DN.ru VCT3232-T 1-2 1/2 Ду25-65 Ру16 ZGY резьбового

Наименование деталиМатериал
1Крышканержавеющая сталь CF8М/AISI 316 (аналог 08Х17Н14М2)
2ПрокладкаPTFE
3Корпуснержавеющая сталь CF8М/AISI 316 (аналог 08Х17Н14М2)
4Штифтнержавеющая сталь CF8М/AISI 316 (аналог 08Х17Н14М2)
5Болт с шестигранной головкойнержавеющая сталь CF8М/AISI 316 (аналог 08Х17Н14М2)
6Уплотнение штифтаPTFE
7Дискнержавеющая сталь CF8М/AISI 316 (аналог 08Х17Н14М2)
Клапаны обратные DN.ru VCT3232-T 1-2 1/2 Ду25-65 Ру16 ZGY резьбовые, поворотные, корпус - нержавеющая сталь CF8М/AISI 316, диск - нержавеющая сталь CF8М/AISI 316, уплотнение - PTFE

Эскиз деталировки клапана обратного DN.ru VCT3232-T 1-2 1/2 Ду25-65 Ру16 ZGY резьбового

Быстрый заказ

Вы можете отправить нам запрос на необходимые позиции и наш менеджер свяжется с вами в ближайшее время для формирования заказа

Нажмите, чтобы загрузить файлы или перетащите сюда
Максимальный размер файла - 10 Мб. Типы файлов: jpg, jpeg, png, xls, xlsx, doc, docx, pdf.