Задвижка параллельная 30ч906бр ЛМЗ Ду200 Ру16 фланцевая, клин - двухдисковый, шпиндель - выдвижной, корпус - чугун, уплотнение - металл, с электроприводом DN.ru MTG-200-220 220 В
Модификация
О товаре
Характеристики
Задвижка параллельная 30ч906бр с приводом DN.ru-220 В предназначена для установки на трубопроводах (вода, пар) в качестве запорного устройства в системах автоматического управления теплоснабжением и водоснабжением на промышленных и гражданских объектах. К трубопроводу присоединяется при помощи фланцев (по ГОСТу 12817, исполнение I, ряд 2 по ГОСТу 12815). Установка производится приводом вверх. Задвижки с электроприводом предназначены для эксплуатации в повторно-кратковременном режиме S2 по ГОСТ 183-74 с продолжительностью включения (ПВ) 15%. Питание электропривода осуществляется сети переменного тока 220В 50 Гц.  | 
		|
			Общие характеристики задвижки - 30ч906бр с приводом DN.ru-220 В
  | 
			![]() Задвижка параллельная 30ч906бр ЛМЗ Ду200 Ру16 фланцевая, клин - двухдисковый, шпиндель - выдвижной, корпус - чугун, уплотнение - металл, с электроприводом DN.ru MTG-200-220 220 В | 
		
			Габаритные размеры задвижки 30ч906бр с приводом DN.ru-220 В
 Установочные размеры и характеристики задвижки 30ч906бр с приводом DN.ru-220 В
 Характеристики электропривода - MTG-200-220
  | 
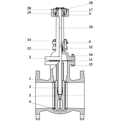
			![]() Эскиз задвижки 30ч906бр с приводом DN.ru-220 В | 
		
![]()  | 
		|
			Электрическая схема подключения электропривода 30ч906бр с приводом DN.ru-220 В | 
		|
![]()  | 
			 
 | 
		
			Расположение концевых выключателей
			 | 
			
			Расположение контактов
			 | 
		
Паспорта и сертификаты
Аналоги
График сравнения цен аналогичных задвижек*. При клике на точку графика получите развернутую информацию.
*Задвижки подобраны по следующим параметрам: Ду200, Ру16, тип задвижки - Параллельная, клин - двухдисковый, тип присоединения - фланцевый, управление - С электроприводом, класс материала корпуса - чугун, уплотнение - Металл, конструкция шпинделя - выдвижной, наличие телескопического штока - нет, наличие колонки управления - нет
Доставка
Мы осуществляем доставку по Москве, Московской области, и другим регионам Российской Федерации.
Доставка по г.Москва (в пределах МКАД) и МО осуществляется собственным транспортом или курьером.
Доставка в другие регионы осуществляется при помощи транспортных компаний (СДЭК, Деловые линии, Байкал Сервис).
Самовывоз. Вы сможете самостоятельно забрать заказ оформив самовывоз с нашего склада или пункта выдачи заказов.
Быстрый заказ
Вы можете отправить нам запрос на необходимые позиции и наш менеджер свяжется с вами в ближайшее время для формирования заказа



