Кран шаровой 1102 Aquasfera Standard 3/4″ Ду20 Ру30 полнопроходной, никелированный, внутренняя резьба, ручка-бабочка (1102-02)
О товаре
Другие диаметры:
Характеристики
Краны шаровые торговой марки Aquasfera предназначены для установки в качестве запорной арматуры в системах ГВС, ХВС, в том числе хозяйственно-питьевого водоснабжения и отопления, а также сжатого воздуха, жидких углеводородов, технологических трубопроводов, перегоняющие жидкости, неагрессивные к материалам шарового крана. |
||||||||||||||||||||||||||||||||||
Параметры крана Aquasfera 1102 внутренняя резьба Ду20:
|
![]() Кран шаровой 1102 Aquasfera Standard 3/4″ Ду20 Ру30 полнопроходной, никелированный, внутренняя резьба, ручка-бабочка (1102-02) |
|||||||||||||||||||||||||||||||||
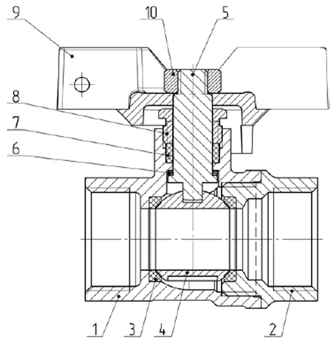
Конструкция и материалы крана
|
||||||||||||||||||||||||||||||||||
| № | Деталь | Материал |
| 1 | Ручка | Алюминий |
| 2 | Корпус | Латунь |
| 3 | Уплотнение шара | Тефлон |
| 4 | Шар | Латунь |
| 5 | Антифрикционное кольцр | Тефлон |
| 6 | Шток | Латунь |
| 7 | Уплотнение сальника | Этилен-пропиленовый каучук |
| 8 | Гайка сальника | Латунь |
| 9 | Корпус | Латунь |
| 10 | Гайка | Сталь |

Деталировка крана Aquasfera 1102 внутренняя резьба Ду20
Габаритные и установочные размеры
крана Aquasfera 1102 внутренняя резьба Ду20:
- Диаметр номинальный, Dn - 20 мм
- Строительная длина, L - 57 мм
- Строительная высота, H - 37 мм
- Длина рукоятки, L1 - 55 мм
- Высота с рукояткой, H1 - 41.5 мм
- Размер под ключ, C - 30 мм
- Размер под ключ, C1 - 30 мм
- Диаметр G(a) - 20 мм
- Диаметр G(b) - 20 мм

Эскиз крана Aquasfera 1102 внутренняя резьба Ду20
Паспорта и сертификаты
Аналоги
График сравнения цен аналогичных кранов для теплоснабжения*. При клике на точку графика получите развернутую информацию.
*Краны подобраны по следующим параметрам: Ду20, Ру30, применение - теплоснабжение, тип присоединения - муфтовый (резьбовой), проход шара крана - полнопроходной, класс материала корпуса - латунь, управление - рукоятка, водоразборный - нет, наличие колонки управления - нет, тип устройства крана - двухходовой
Доставка
Мы осуществляем доставку по Москве, Московской области, и другим регионам Российской Федерации.
Доставка по г.Москва (в пределах МКАД) и МО осуществляется собственным транспортом или курьером.
Доставка в другие регионы осуществляется при помощи транспортных компаний (СДЭК, Деловые линии, Байкал Сервис).
Самовывоз. Вы сможете самостоятельно забрать заказ оформив самовывоз с нашего склада или пункта выдачи заказов.
Быстрый заказ
Вы можете отправить нам запрос на необходимые позиции и наш менеджер свяжется с вами в ближайшее время для формирования заказа
