Регулятор давления после себя Энерготехномаш УРРД-НО-РД Ду150 Ру16 фланцевый, Kvу - 160м3/ч, Tmax до 150°С, уплотнение - EPDM, корпус - чугун СЧ25, с мембранным приводом 0.01-0.07МПа
Модификация
О товаре
Другие размеры:
Характеристики
| Регуляторы УРРД предназначены для автоматического поддержания постоянного давления, перепада давления, расхода и перепуска неагрессивных к материалам деталей регуляторов сред на вводах жилых, общественных, промышленных зданий, объектах теплоснабжения, водоснабжения, насосных станциях, тепловых пунктах и других технологических объектах. | ||||||||||||||||||
Параметры регулятора давления после себя Энерготехномаш УРРД-НО-РД Ду150 Ру16 Kv160 Tmax до 150 °С 0.01-0.07 МПа:
|
Регулятор давления после себя Энерготехномаш УРРД-НО-РД Ду150 Ру16 фланцевый, Kvу - 160м3/ч, Tmax до 150°С, уплотнение - EPDM, корпус - чугун СЧ25, с мембранным приводом 0.01-0.07МПа |
|||||||||||||||||
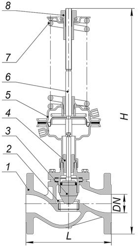
Габаритные размеры регулятора давления после себя Энерготехномаш УРРД-НО-РД Ду150 Ру16 Kv160 Tmax до 150 °С 0.01-0.07 МПа:
|
![]() Эскиз габаритных размеров и деталировки регулятора давления после себя Энерготехномаш УРРД-НО-РД Ду150 Ру16 Kv160 Tmax до 150 °С 0.01-0.07 МПа |
|||||||||||||||||
Деталировка регулятора давления после себя Энерготехномаш УРРД-НО-РД Ду150 Ру16 Kv160 Tmax до 150 °С 0.01-0.07 МПа:
|
||||||||||||||||||
Паспорта и сертификаты
Аналоги
График сравнения цен аналогичных регуляторов*. При клике на точку графика получите развернутую информацию.
*Регуляторы подобраны по следующим параметрам: Тип регулятора - после себя, тип присоединения - фланцевый, Ду150, Ру16, строительная длина - 480 мм, Класс материала корпуса - чугун, уплотнение - EPDM
Доставка
Мы осуществляем доставку по Москве, Московской области, и другим регионам Российской Федерации.
Доставка по г.Москва (в пределах МКАД) и МО осуществляется собственным транспортом или курьером.
Доставка в другие регионы осуществляется при помощи транспортных компаний (СДЭК, Деловые линии, Байкал Сервис).
Самовывоз. Вы сможете самостоятельно забрать заказ оформив самовывоз с нашего склада или пункта выдачи заказов.
Быстрый заказ
Вы можете отправить нам запрос на необходимые позиции и наш менеджер свяжется с вами в ближайшее время для формирования заказа
