Регуляторы давления после себя Энерготехномаш УРРД-НО-РД Ду15-150 Ру25 фланцевые, Kvу - 0.25-320м3/ч, Tmax 350°С, уплотнение - графит ТРГ, корпус - сталь 25Л, с мембранным приводом 0.3-1.2МПа

СТМ многоступенчатые насосы 2
СТМ многоступенчатые насосы 2-mobile
КИПиА Акваконтроль 2
КИПиА Акваконтроль 2-mobile

Регуляторы давления «после себя» предназначены для поддержания давления пара в заданном диапазоне на участке или в контуре системы, расположенной после регуляторов.

Исполнение клапана регуляторов «нормально открытое». Клапан регуляторов закрывается при превышении заданной величины давления.

Регуляторы давления работают только при постоянном расходе среды через регуляторы.

Подключение мембранного исполнительного механизма к паровому трубопроводу должно производиться только через водяной затвор для защиты чувствительной мембраны от воздействия пара. При монтаже водяной затвор должен быть установлен выше мембранного привода регуляторов.

Основные технические характеристики регуляторов давления после себя Энерготехномаш УРРД-НО-РД Ду15-150 Ру25:

Параметр Значение
Тип регулятора после себя
Конструкция регулятора мембранный
Тип исполнения нормально открытый
Давление номинальное PN 25 бар
Диапазон регулировки 0.3-1.2 МПа
Присоединение фланцевое
Материал корпуса Углеродистая сталь A216 Gr WCB/25Л
Уплотнение Терморасширенный графит
Рабочая среда пар
Максимальная температура рабочей среды 350 °C
Климатическое исполнение УХЛ4
Срок службы 10 лет
Страна производитель Россия
Регуляторы давления после себя Энерготехномаш УРРД-НО-РД Ду15-150 Ру25 фланцевые, Kvу - 0.25-320м3/ч, Tmax 350°С, уплотнение - графит ТРГ, корпус - сталь 25Л, с мембранным приводом 0.3-1.2МПа

Регуляторы давления после себя Энерготехномаш УРРД-НО-РД Ду15-150 Ру25 фланцевые, Kvу - 0.25-320м3/ч, Tmax 350°С, уплотнение - графит ТРГ, корпус - сталь 25Л, с мембранным приводом 0.3-1.2МПа

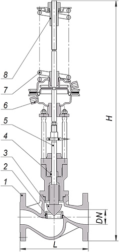
Габаритные и установочные размеры регуляторов давления после себя Энерготехномаш УРРД-НО-РД Ду15-150 Ру25:

Ду, мм DN, мм L, мм H, мм
15 15 130 815
20 20 150 825
25 25 160 825
32 32 180 840
40 40 200 850
50 50 230 870
65 65 290 910
80 80 310 920
100 100 350 970
125 125 400 1150
150 150 480 1300
Регуляторы давления после себя Энерготехномаш УРРД-НО-РД Ду15-150 Ру25 фланцевые, Kvу - 0.25-320м3/ч, Tmax 350°С, уплотнение - графит ТРГ, корпус - сталь 25Л, с мембранным приводом 0.3-1.2МПа

Эскиз регуляторов давления после себя Энерготехномаш УРРД-НО-РД Ду15-150 Ру25

Деталировка регуляторов давления после себя Энерготехномаш УРРД-НО-РД Ду15-150 Ру25:

Наименование элемента
1 корпус
2 седло
3 плунжер
4 сальниковый узел
5 шток
6 привод мембранный
7 пружина
8 настроечная гайка

*В комплект поставки входит: импульсная трубка (2 шт в исполнении "РПД"). Манометры и штуцеры, по необходимости, приобретаются отдельно.

Быстрый заказ

Вы можете отправить нам запрос на необходимые позиции и наш менеджер свяжется с вами в ближайшее время для формирования заказа

Нажмите, чтобы загрузить файлы или перетащите сюда
Максимальный размер файла - 10 Мб. Типы файлов: jpg, jpeg, png, xls, xlsx, doc, docx, pdf.