Датчик перепада давления RGP DPS-1000 100-1000Па для воздуха и неагрессивных газов

Артикул: D070-12441   

О товаре

Артикул:
D070-12441
Бренд:
RGP
Autonics
Baumer
BD
IECON
INNOCONT
LANBAO
LEFOO
Акваконтроль
ПРОМА
Росма
ТЕХНО-АС
Страна производитель:
Россия
Материал корпуса:
пластик
Среда:
воздух, нейтральные газы
Все характеристики
на 2026-06-02
1 119,96
Гарантия 12 месяцев
Возможна отсрочка до 90 дней
В избранное
Бесплатная доставка до ТК
Сертифицированный товар

Характеристики

Датчик серии «DPS» позволяет вручную с помощью вращающейся рукоятки настраивать порог срабатывания в диапазонах 100-1000 Па. Датчик используется в системах вентиляции и кондиционирования для контроля загрязнения фильтров и давления в вентиляционном канале, диагностики работы вентиляторов и сигнализации о замерзании (обмерзании) рекуператора.

Технические параметры датчика перепада давления RGP DPS-1000

  • Тип изделия - датчики
  • Материал корпуса - пластик
  • Класс материала корпуса - Пластик
  • Среда - воздух, нейтральные газы
  • Тип датчиков - датчики давления
  • Температура рабочей среды - от -40 до 85 °C
  • Температура окружающей среды - от -40 до 85 °C
  • Степень защиты корпуса IP - 54
  • Страна производитель - Россия
  • Бренд - RGP
  • Срок службы - 10 лет
  • Гарантия - 2 г.
  • Вес - 0.2 кг
Датчик перепада давления RGP DPS-1000 100-1000Па для воздуха и неагрессивных газов

Изображение датчика перепада давления RGP DPS-1000

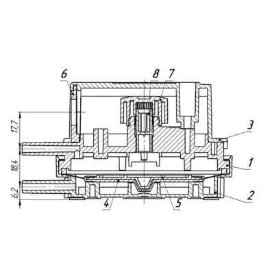
Деталировка датчика перепада давления RGP DPS-1000

Наименование детали
1Основа-плата ПВД
2Основание ПВД
3Крышка ПВД
4Мембрана
5Вставка мембраны
6Держатель гермоввода
7Ручка регулятора
8Винт-заглушка
Датчик перепада давления RGP DPS-1000 100-1000Па для воздуха и неагрессивных газов

Эскиз деталировки датчика перепада давления RGP DPS-1000

Аналоги

График сравнения цен аналогичных датчиков*. При клике на точку графика получите развернутую информацию.

*Датчики подобраны по следующим параметрам: Тип датчиков - датчики давления, температура рабочей среды максимальная - 85 °С, материал корпуса - пластик, среда - воздух, нейтральные газы

9,000
7,200
5,400
3,600
1,800
0
RGP
DPS
RGP
DPS
RGP
DPS
RGP
DPS-PRO
RGP
DPS-PRO
RGP
DPS-PRO
RGP
DPS-PRO
RGP
DPS-PRO
RGP
DPS-PRO
RGP
DPS-PRO
RGP
DPS-PRO
RGP
DPT
RGP
DPT
RGP
DPT
RGP
DPT
RGP
DPT

Доставка

Условия доставки:

Мы осуществляем доставку по Москве, Московской области, и другим регионам Российской Федерации.

Доставка по г.Москва (в пределах МКАД) и МО осуществляется собственным транспортом или курьером.

Доставка в другие регионы осуществляется при помощи транспортных компаний (СДЭК, Деловые линии, Байкал Сервис).

Самовывоз. Вы сможете самостоятельно забрать заказ, оформив самовывоз с нашего склада или пункта выдачи заказов.

Быстрый заказ

Вы можете отправить нам запрос на необходимые позиции и наш менеджер свяжется с вами в ближайшее время для формирования заказа

Нажмите, чтобы загрузить файлы или перетащите сюда
Максимальный размер файла - 10 Мб. Типы файлов: jpg, jpeg, png, xls, xlsx, doc, docx, pdf.