Клапаны отсекающие DN.ru VSAV0041E-T ВР/НР Ду15 Ру10 для монтажа автоматического воздухоотводчика, корпус - латунь HPb57-3, тип присоединения - резьбовой

СТМ многоступенчатые насосы 2
СТМ многоступенчатые насосы 2-mobile
КИПиА Акваконтроль 2
КИПиА Акваконтроль 2-mobile

Клапан отсекающий DN.ru VSAV0041E-T предназначен для установки автоматического воздухоотводчика на элементах трубопроводов водяного отопления, холодного и горячего водоснабжения. Клапан позволяет производить монтаж и демонтаж воздухоотводчика без осушения системы.

Технические параметры клапанов отсекающих DN.ru VSAV0041E-T ВР/НР Ду15 Ру10

ХарактеристикаЗначение
Номинальный диаметр DN, мм15
Номинальное давление PN, бар10
Температура рабочей среды, ⁰Cот 0 до +110
Рабочая средавода, водно-гликолевые растворы с содержанием гликоля до 50%
Материал корпусалатунь HPb57-3 (аналог ЛЦ40С)
Материал отсекающего элементапластик POM (полиоксиметилен)
Предельный момент затяжки при монтаже, Нм15
Максимальная температура окружающей среды, ⁰C60
Сферы применениясистемы отопления и водоснабжения
Средний срок службы, лет5
Клапаны отсекающие DN.ru VSAV0041E-T ВР/НР Ду15 Ру10 для монтажа автоматического воздухоотводчика, корпус - латунь HPb57-3, тип присоединения - резьбовой

Изображение клапанов отсекающих DN.ru VSAV0041E-T ВР/НР Ду15 Ру10

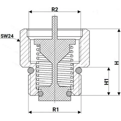
Габариты и размеры клапанов отсекающих DN.ru VSAV0041E-T ВР/НР Ду15 Ру10

МодельH, ммH1, ммR1R2
Ду152611G 1/2″G 1/2″
Клапаны отсекающие DN.ru VSAV0041E-T ВР/НР Ду15 Ру10 для монтажа автоматического воздухоотводчика, корпус - латунь HPb57-3, тип присоединения - резьбовой

Эскиз габаритов клапанов отсекающих DN.ru VSAV0041E-T ВР/НР Ду15 Ру10

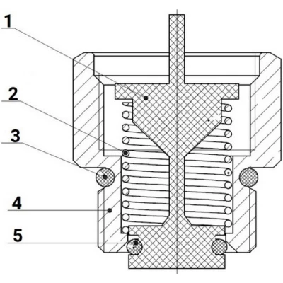
Деталировка клапанов отсекающих DN.ru VSAV0041E-T ВР/НР Ду15 Ру10

НаименованиеМатериал
1Отсекающий элементпластик POM (полиоксиметилен)
2Пружинанержавеющая сталь AISI 304 (аналог 08Х18Н10)
3Уплотнительное кольцоEPDM
4Корпуслатунь HPb57-3 (аналог ЛЦ40С)
5Уплотнительное кольцоEPDM
Клапаны отсекающие DN.ru VSAV0041E-T ВР/НР Ду15 Ру10 для монтажа автоматического воздухоотводчика, корпус - латунь HPb57-3, тип присоединения - резьбовой

Эскиз деталировки клапанов отсекающих DN.ru VSAV0041E-T ВР/НР Ду15 Ру10

Быстрый заказ

Вы можете отправить нам запрос на необходимые позиции и наш менеджер свяжется с вами в ближайшее время для формирования заказа

Нажмите, чтобы загрузить файлы или перетащите сюда
Максимальный размер файла - 10 Мб. Типы файлов: jpg, jpeg, png, xls, xlsx, doc, docx, pdf.