Регулирующий клапан в сочетании с приводом прямого действия (термостатом) является регулятором температуры прямого действия (РТПД) серии Энерготехномаш ТС-3 серый чугун СЧ25 и предназначен для применения преимущественно в системах горячего водоснабжения (ГВС) со скоростными и емкостными водонагревателями и с баками-аккумуляторами, для регулирования температуры в системах индивидуального и центрального теплоснабжения, охлаждения, кондиционирования, а также в промышленных и судовых системах. Он также может использоваться в смесительных узлах систем напольного отопления.
Термостат закрывает клапан, когда температура превышает установленное значение. Установка регулятора возможна как на подающем, так и на обратном
трубопроводе тепловой сети. |
Технические параметры регулятора температуры прямого действия Энерготехномаш РТПД ТС-3 Ду15-100 Ру16, двусторонние, фланцевые, максимальная температура до 150 °C, материал корпуса — серый чугун СЧ25| Характеристика | Значение |
|---|
| Номинальное давление, бар | 16 | | Температура регулируемой среды, °C | До 150 | | Регулируемая среда | Вода или водный раствор гликоля | | Протечка | 0,1% от Кvy | | Тип соединения | Фланцевый по ГОСТ 33259-2015 | | Диапазон регулирования температуры, °C | 40-100 | | Смещение штока при изменении температуры на 1°C, мм | 0,5 |
|  Изображение регулятора температуры прямого действия Энерготехномаш РТПД ТС-3 Ду15-100 Ру16, двусторонние, фланцевые, максимальная температура до 150 °C, материал корпуса — серый чугун СЧ25 |
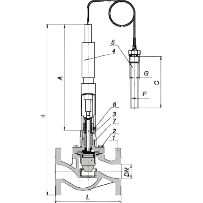
Габаритные и установочные размеры регулятора температуры прямого действия Энерготехномаш РТПД ТС-3 Ду15-100 Ру16, двусторонние, фланцевые, максимальная температура до 150 °C, материал корпуса — серый чугун СЧ25| A, мм | С, мм | Е, мм | G, ГОСТ 6357-81 (трубная цилиндрическая резьба) | Масса, кг | Длина капилляра, м |
|---|
| 380 | 280 | 25 | 28 | 3.8 | 3 | | 380 | 280 | 25 | 28 | 3.8 | 3 | | 380 | 280 | 25 | 28 | 3.8 | 3 | | 380 | 280 | 25 | 28 | 3.8 | 3 | | 380 | 280 | 25 | 28 | 3.8 | 3 | | 380 | 280 | 25 | 28 | 3.8 | 3 | | 380 | 280 | 25 | 28 | 3.8 | 3 | | 380 | 280 | 25 | 28 | 3.8 | 3 | | 380 | 280 | 25 | 28 | 3.8 | 3 |
|  Эскиз регулятора температуры прямого действия Энерготехномаш РТПД ТС-3 Ду15-100 Ру16, двусторонние, фланцевые, максимальная температура до 150 °C, материал корпуса — серый чугун СЧ25 |
Деталировка регулятора температуры прямого действия Энерготехномаш РТПД ТС-3 Ду15-100 Ру16, двусторонние, фланцевые, максимальная температура до 150 °C, материал корпуса — серый чугун СЧ25| № | Наименование детали | Материал |
|---|
| 1 | Корпус клапана | Чугун СЧ25, Сталь Ст25Л, Сталь12Х18Н10 | | 2 | Плунжер | 12Х18Н10Т | | 3 | Сальниковый узел | | | 4 | Настроечный цилиндр привода прямого действия | | | 5 | Температурный датчик | Нержавеющая сталь -S | | 6 | Винты установочные | | | 7 | Втулка переходная | |
| |